Genuine Yamaha Outboard Parts Diagrams | Flood Marine

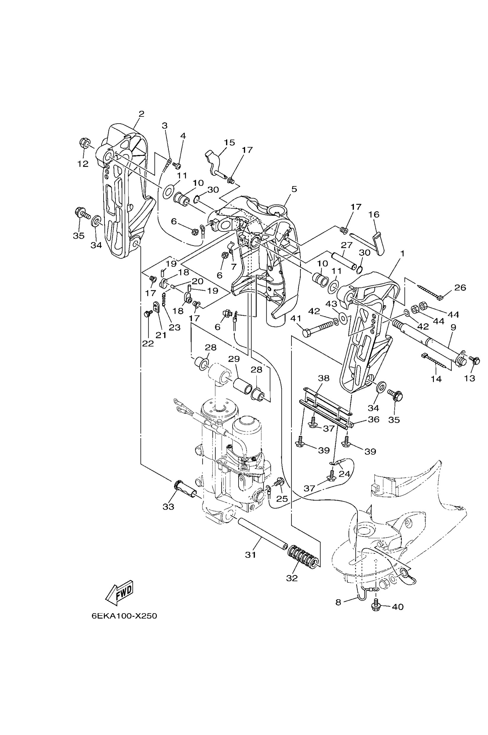
Diagram: BRACKET 1

Diagram

Parts List

Bracket, clamp 1
Diagram Reference: 1
Bracket, clamp 2
Diagram Reference: 2
Wire, lead 5
Diagram Reference: 3
Screw, pan head(6a3)
Diagram Reference: 4
6EK43311008D (L(20.3"))
Bracket, swivel 1
Diagram Reference: 5
6EK43311108D (X(25.3"))
Bracket, swivel 1
Diagram Reference: 5
Nipple, grease
Diagram Reference: 6
Clamp(61u)
Diagram Reference: 7
66K8214900 (L(20.3"))
Wire, lead 3
Diagram Reference: 8
68V8214930 (X(25.3"))
Wire, lead 3
Diagram Reference: 8
Bolt, clamp bracket
Diagram Reference: 9
Bushing (6e5)
Diagram Reference: 10
Washer, plate (6e5)
Diagram Reference: 11
Nut, self-locking
Diagram Reference: 12
Bolt, hexagon w/w deep recess
Diagram Reference: 13
Clamp
Diagram Reference: 14
Lever, tilt stop 1
Diagram Reference: 15
Lever, tilt stop 2
Diagram Reference: 16
Bushing (688)
Diagram Reference: 17
Collar, distance
Diagram Reference: 18
Pin, spring (6h4)
Diagram Reference: 19
Pin(6e5)
Diagram Reference: 20
Hook, spring
Diagram Reference: 21
Bolt, hexagon w/w deep recess
Diagram Reference: 22
Spring, tension(6e5)
Diagram Reference: 23
Wire, lead 4
Diagram Reference: 24
Bolt, hexagon w/w deep recess
Diagram Reference: 25
Clamp
Diagram Reference: 26
Pin, upper shock mount
Diagram Reference: 27
Bush (688)
Diagram Reference: 28
Bush
Diagram Reference: 29
Circlip (6f2)
Diagram Reference: 30
Pin, lower shock mount
Diagram Reference: 31
Pipe
Diagram Reference: 32
Bush, formed
Diagram Reference: 33
Washer, plate
Diagram Reference: 34
Bolt, with washer
Diagram Reference: 35
Anode
Diagram Reference: 36
Bolt, with washer
Diagram Reference: 37
Plate 2
Diagram Reference: 38
Bolt, hexagon w/w deep recess
Diagram Reference: 39
Bolt, flange deep recess
Diagram Reference: 40
9010112065 (UR L(20.3"))
Bolt (l:130mm)
Diagram Reference: 41
9010112066 (UR)
Bolt (l:150mm)
Diagram Reference: 41
Washer, plate(6e5)
Diagram Reference: 42
Washe, plate(663)
Diagram Reference: 43
Nut (707)
Diagram Reference: 44