Genuine Yamaha Outboard Parts Diagrams | Flood Marine

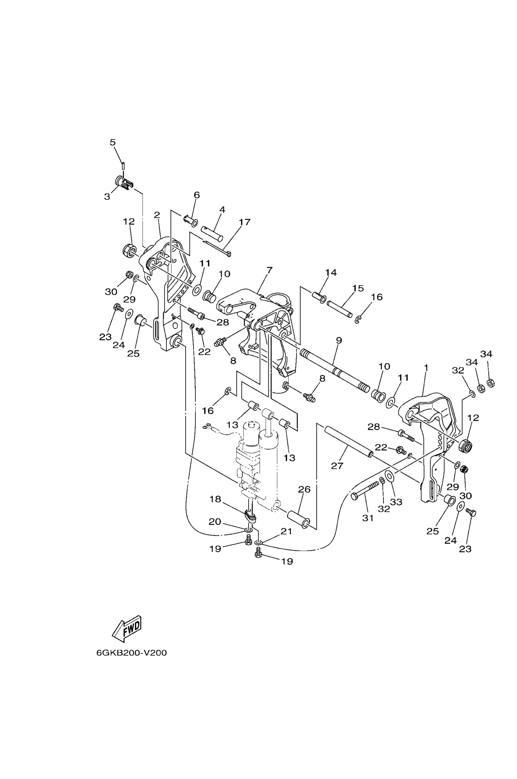
Diagram: BRACKET 2

Diagram

Parts List

Bracket, clamp 1
Diagram Reference: 1
Bracket, clamp 2
Diagram Reference: 2
Knob, stopper
Diagram Reference: 3
Shaft, stopper
Diagram Reference: 4
926-51502-00 pin, spring (700)
Diagram Reference: 5
Bushing
Diagram Reference: 6
65W43311118D (L(21.7"))
Bracket, swivel 1
Diagram Reference: 7
Nipple, grease(6a1)
Diagram Reference: 8
Bolt, clamp bracket
Diagram Reference: 9
Bushing (688)
Diagram Reference: 10
Washer, plate(64j)
Diagram Reference: 11
Nut, self-locking
Diagram Reference: 12
Bush, solid
Diagram Reference: 13
Bush
Diagram Reference: 14
Pin
Diagram Reference: 15
Circlip
Diagram Reference: 16
Clamp (6e5)
Diagram Reference: 17
Anode
Diagram Reference: 18
Bolt
Diagram Reference: 19
Wire, lead
Diagram Reference: 20
Wire, lead 5
Diagram Reference: 21
Bolt, hexagon w/w deep recess
Diagram Reference: 22
Bolt
Diagram Reference: 23
Washer, plate(6e0)
Diagram Reference: 24
Bushing (6g5)
Diagram Reference: 25
Bush
Diagram Reference: 26
Pin, lower shock mount
Diagram Reference: 27
Bolt, hexagon socket head
Diagram Reference: 28
Washer, plate
Diagram Reference: 29
Nut, self-locking
Diagram Reference: 30
Bolt
Diagram Reference: 31
Washer, plate
Diagram Reference: 32
Washe, plate(663)
Diagram Reference: 33
Nut (707)
Diagram Reference: 34