Yamaha Outboard Parts - Bottom Cowling - 200FETOL (1997) | Flood Marine
New Search
Parts
New Outboards
Home
200FETOL (1997)
Bottom Cowling
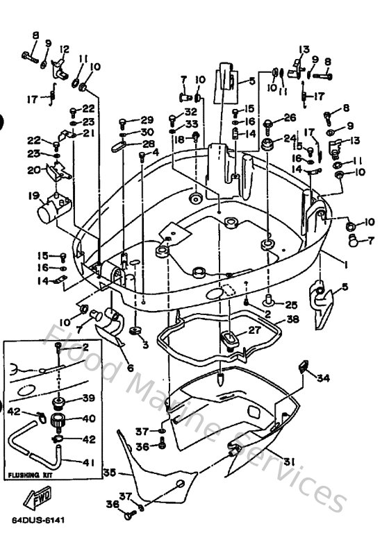
Diagram: Bottom Cowling
Parts List
Reference
Description
Price
1
64D42711008D
Cowling, bottom
Loading…
↗
2
9048006M1900
Grommet (6e3)
Loading…
↗
3
61A427270000
Grommet
Loading…
↗
4
6H4427480000
Grommet
Loading…
↗
5
64D42815008D
Lever, clamp
Loading…
↗
6
64D42816004D
Lever, clamp
Loading…
↗
7
64D428350000
Pin, set1
Loading…
↗
8
970950604000
Bolt (682)
Loading…
↗
9
9020106M0200
Washer,plate (6k8)
Loading…
↗
10
9038615M7300
Bush(6l2)
Loading…
↗
11
9020615M1800
Washer, wave(6l2)
Loading…
↗
12
64D428182000
Lever, clamp
Loading…
↗
14
64D431440000
Hook, spring
Loading…
↗
15
970900601200
Bolt(gh1)
Loading…
↗
16
929900660000
Washer, plain (646)
Loading…
↗
17
9050616M3400
Spring, tension(64d)
Loading…
↗
18
6E5443910000
Nipple, hose
Loading…
↗
19
64D427252000
Grommet
Loading…
↗
20
64D42738005B
Plate, fitting
Loading…
↗
21
64D42738105B
Plate, fitting
Loading…
↗
22
970950601600
Bolt, hexagon deep recess
Loading…
↗
24
9048022M1500
Grommet (6e5)
Loading…
↗
25
9038708M3700
Coller (6e5)
Loading…
↗
26
9011908M2200
Bolt, with washer
Loading…
↗
27
688427261000
Grommet
Loading…
↗
28
6E5825880000
Plate
Loading…
↗
29
970800602000
Bolt(7u8)
Loading…
↗
31
6R342741028D
Apron
Loading…
↗
32
970950602000
Bolt(7u8)
Loading…
↗
34
64D427170000
Rubber Seal 2
Loading…
↗
35
6R342771018D
Apron
Loading…
↗
38
6E5427161000
Rubber seal 1
Loading…
↗
39
6R3125720000
Adapter
Loading…
↗
40
6R3125800000
Joint assembly
Loading…
↗
41
9044511M3500
Hose (l700)
Loading…
↗
42
9046511M1000
Clamp
Loading…
↗