Yamaha Outboard Parts - Bottom Cowling - 225GETOL (1999) | Flood Marine

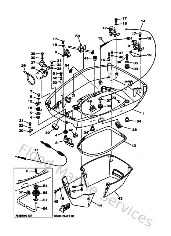
Diagram: Bottom Cowling

Diagram

Parts List

Reference
Description
Price