Yamaha Outboard Parts - Bottom Cowling - L150FETOL (1997) | Flood Marine

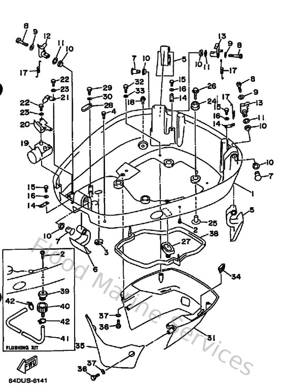
Diagram: Bottom Cowling

Diagram

Parts List

Reference
Description
Price