Genuine Yamaha Outboard Parts Diagrams | Flood Marine
New Search
Parts
New Outboards
Home
LF115B (2025)
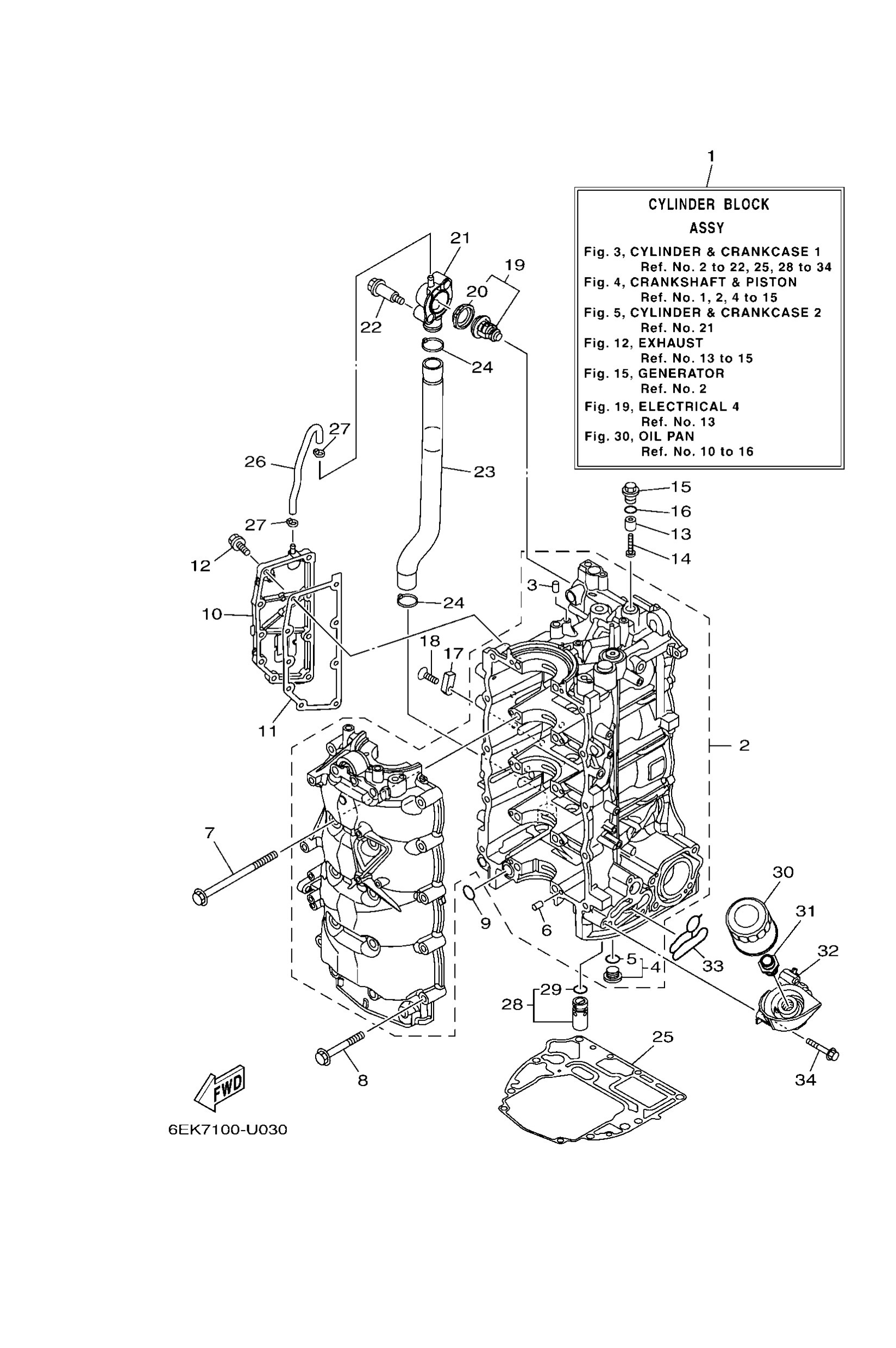
CYLINDER & CRANKCASE 1
Diagram: CYLINDER & CRANKCASE 1
Parts List
6EKW009B149S
Cylinder block assembly
Diagram Reference: 1
Get Part
6EK15109029S
Crankcase assembly
Diagram Reference: 2
Get Part
9360619M23
Pin, dowel
Diagram Reference: 3
Get Part
6EK1131300
Plug, blind
Diagram Reference: 4
Get Part
93210207A0
O-ring
Diagram Reference: 5
Get Part
9360612019
Pin, dowel (614)
Diagram Reference: 6
Get Part
9011910057
Bolt, with washer
Diagram Reference: 7
Get Part
9010508170
Bolt, flange
Diagram Reference: 8
Get Part
9321019MJ1
O-ring
Diagram Reference: 9
Get Part
6EK15414009S
Cover, air cleaner
Diagram Reference: 10
Get Part
6EK1535301
Gasket, drain
Diagram Reference: 11
Get Part
9010506037
Bolt, flange
Diagram Reference: 12
Get Part
6G81132500
Anode
Diagram Reference: 13
Get Part
9898005025
Screw, panhead (a93)
Diagram Reference: 14
Get Part
6G811197A0
Plug, blind
Diagram Reference: 15
Get Part
9321013M63
O-ring (6g8)
Diagram Reference: 16
Get Part
63P1132501
Anode
Diagram Reference: 17
Get Part
9015106M02
Screw, countersunk
Diagram Reference: 18
Get Part
6EK1241100
Thermostat
Diagram Reference: 19
Get Part
6EK1241200
Seal, thermostat
Diagram Reference: 20
Get Part
6EK1241300
Cover, thermostat
Diagram Reference: 21
Get Part
9010906286
Bolt
Diagram Reference: 22
Get Part
6EK1243A00
Hose 1
Diagram Reference: 23
Get Part
9046511M59
Clamp(63m)
Diagram Reference: 24
Get Part
6EK1135101
Gasket, cylinder
Diagram Reference: 25
Get Part
6EK1248300
Pipe 3
Diagram Reference: 26
Get Part
9046511M10
Clamp
Diagram Reference: 27
Get Part
6EK1349000
Relief valve assembly
Diagram Reference: 28
Get Part
6CB1347300
O-ring
Diagram Reference: 29
Get Part
5GH1344072
Element assembly, oil cleaner
Diagram Reference: 30
Get Part
9040120007
Bolt, union
Diagram Reference: 31
Get Part
6EK1344600
Connector
Diagram Reference: 32
Get Part
6EK1347500
Gasket
Diagram Reference: 33
Get Part
9010506151
Bolt, flange
Diagram Reference: 34
Get Part