Genuine Yamaha Outboard Parts Diagrams | Flood Marine
New Search
Parts
New Outboards
Home
F300NSB (2025)
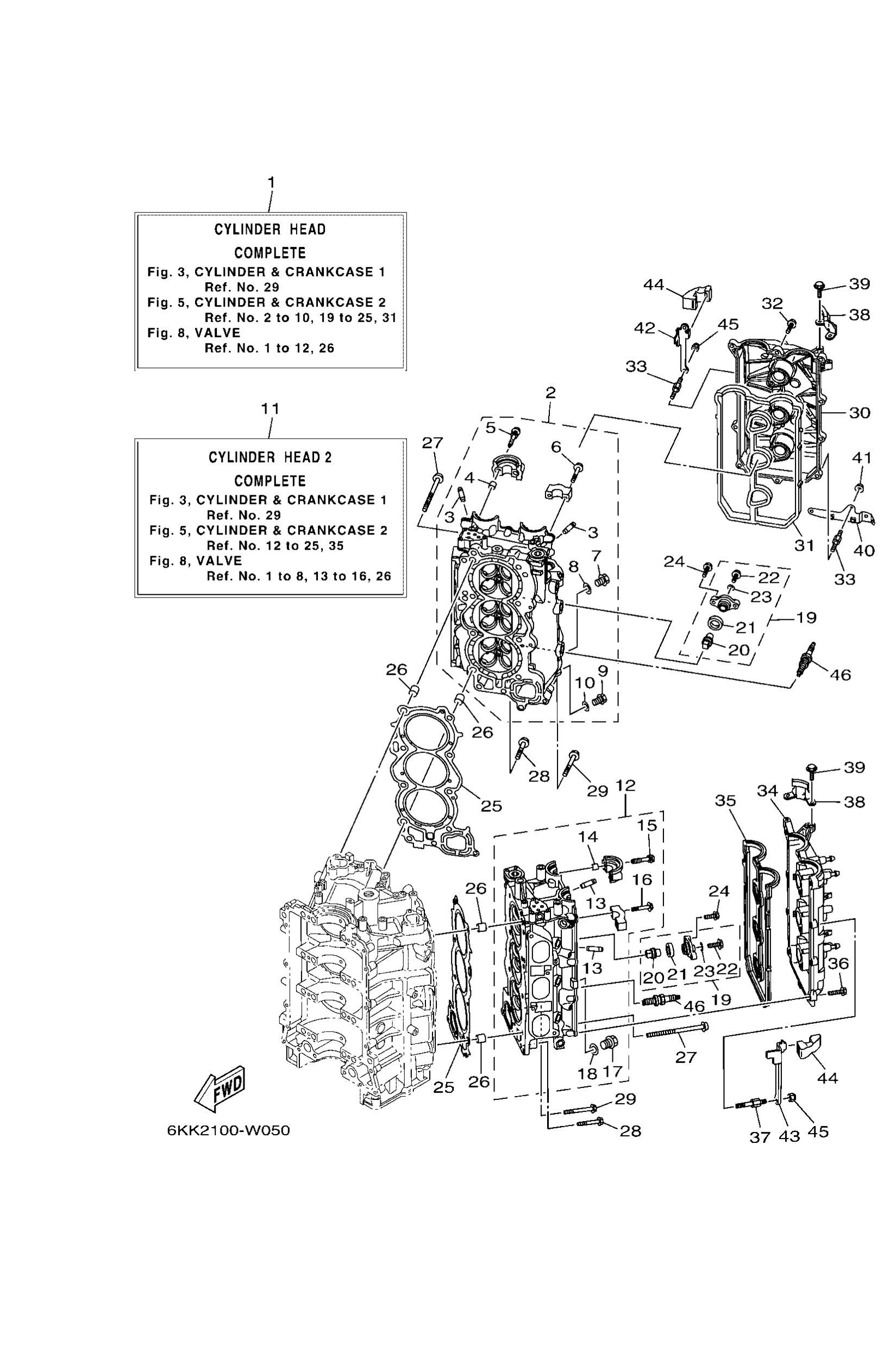
CYLINDER & CRANKCASE 2
Diagram: CYLINDER & CRANKCASE 2
Parts List
6KAW009A029S
Cylinder Head Complete
Diagram Reference: 1
Get Part
6CE11110129S
Cylinder head assembly
Diagram Reference: 2
Get Part
6S51113310
Guide, valve 1
Diagram Reference: 3
Get Part
9180908006
Pin, dowel
Diagram Reference: 4
Get Part
9011907001
Bolt, with washer
Diagram Reference: 5
Get Part
9011907234
Bolt, with washer
Diagram Reference: 6
Get Part
9034018M09
Plug, straight screw
Diagram Reference: 7
Get Part
90201186F1
Washer, plate (22f)
Diagram Reference: 8
Get Part
9034014M06
Plug, straight screw(62y)
Diagram Reference: 9
Get Part
9043014115
Gasket (663)
Diagram Reference: 10
Get Part
6KAW009C029S
Cylinder Head 2 Complete
Diagram Reference: 11
Get Part
6CE11120129S
Cylinder head assembly 2
Diagram Reference: 12
Get Part
6ML1130100
Anode cover assembly
Diagram Reference: 19
Get Part
6ML1132500
Anode
Diagram Reference: 20
Get Part
67F1132801
Grommet, anode
Diagram Reference: 21
Get Part
9010506M07
Bolt (689)
Diagram Reference: 22
Get Part
9043006M03
Gasket (6f5)
Diagram Reference: 23
Get Part
95D9508025
Bolt, flange deep recess
Diagram Reference: 24
Get Part
6CB1118100
Gasket, cylinder head 1
Diagram Reference: 25
Get Part
9038711005
Collar
Diagram Reference: 26
Get Part
9014911001
Screw
Diagram Reference: 27
Get Part
9010508175
Bolt, flange
Diagram Reference: 28
Get Part
9010508220
Bolt, flange
Diagram Reference: 29
Get Part
6CB1119102
Cover, cylinder head 1
Diagram Reference: 30
Get Part
6CB1119300
Gasket, head cover 1
Diagram Reference: 31
Get Part
95D9506030
Bolt, flange deep recess
Diagram Reference: 32
Get Part
9010906277
Bolt
Diagram Reference: 33
Get Part
6CB1119202
Cover, cylinder head 2
Diagram Reference: 34
Get Part
6CB1119400
Gasket, head cover 2
Diagram Reference: 35
Get Part
6AW1514200
Guide 1
Diagram Reference: 38
Get Part
95D9506014
Bolt, flange deep recess
Diagram Reference: 39
Get Part
6KA2134V00
Bracket
Diagram Reference: 40
Get Part
9017906M28
Nut(63v)
Diagram Reference: 41
Get Part
6KW1199800
Bracket 1
Diagram Reference: 42
Get Part
6KW1199900
Bracket 2
Diagram Reference: 43
Get Part
6KW4266200
Damper
Diagram Reference: 44
Get Part
9018506M07
Nut, self-locking(6e5)
Diagram Reference: 45
Get Part
9470200400
Plug, spark (lfr6a-11)
Diagram Reference: 46
Get Part