Genuine Yamaha Outboard Parts Diagrams | Flood Marine
New Search
Parts
New Outboards
Home
LF115B (2025)
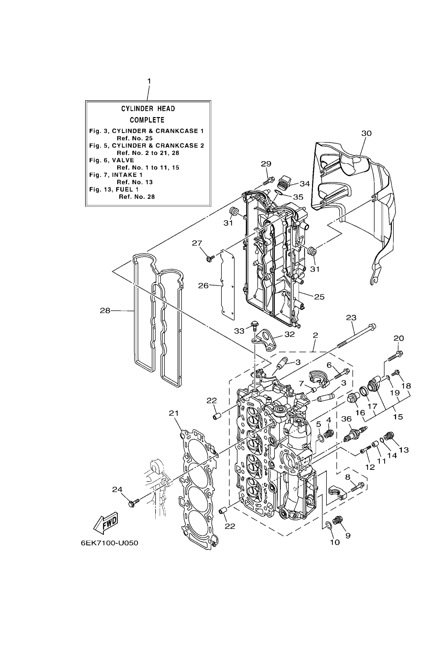
CYLINDER & CRANKCASE 2
Diagram: CYLINDER & CRANKCASE 2
Parts List
6EKW009A029S
Cylinder head complete
Diagram Reference: 1
Get Part
6EK11110009S
Cylinder head assembly
Diagram Reference: 2
Get Part
6DA1113310
Guide, valve 1
Diagram Reference: 3
Get Part
9034018M09
Plug, straight screw
Diagram Reference: 4
Get Part
90201186F1
Washer, plate (22f)
Diagram Reference: 5
Get Part
9011907235
Bolt, with washer
Diagram Reference: 6
Get Part
9180908006
Pin, dowel
Diagram Reference: 7
Get Part
9011907234
Bolt, with washer
Diagram Reference: 8
Get Part
9034014M06
Plug, straight screw(62y)
Diagram Reference: 9
Get Part
9043014115
Gasket (663)
Diagram Reference: 10
Get Part
6G81132500
Anode
Diagram Reference: 11
Get Part
9898005025
Screw, panhead (a93)
Diagram Reference: 12
Get Part
6G811197A0
Plug, blind
Diagram Reference: 13
Get Part
9321013M63
O-ring (6g8)
Diagram Reference: 14
Get Part
69J1130102
Anode cover assembly
Diagram Reference: 15
Get Part
6ML1132500
Anode
Diagram Reference: 16
Get Part
67F1132801
Grommet, anode
Diagram Reference: 17
Get Part
9010506M07
Bolt (689)
Diagram Reference: 18
Get Part
9043006M03
Gasket (6f5)
Diagram Reference: 19
Get Part
95D7508040
Bolt, flange deep recess
Diagram Reference: 20
Get Part
6EK1118100
Gasket, cylinder head 1
Diagram Reference: 21
Get Part
9953014016
Pin, dowel
Diagram Reference: 22
Get Part
9014910072
Screw
Diagram Reference: 23
Get Part
9010506037
Bolt, flange
Diagram Reference: 24
Get Part
6EK1119110
Cover, cylinder head 1
Diagram Reference: 25
Get Part
6EK1116800
Cover, breather
Diagram Reference: 26
Get Part
9760704208
Screw, pan head with washer
Diagram Reference: 27
Get Part
6EK1119300
Gasket, head cover 1
Diagram Reference: 28
Get Part
95D9506030
Bolt, flange deep recess
Diagram Reference: 29
Get Part
6EK1119201
Cover, cylinder head 2
Diagram Reference: 30
Get Part
9048012314
Grommet(3aa)
Diagram Reference: 31
Get Part
6EK1111900
Hanger, engine
Diagram Reference: 32
Get Part
95D9508020
Bolt, flange deep recess
Diagram Reference: 33
Get Part
6G81536300
Plug, oil
Diagram Reference: 34
Get Part
9321024M79
O-ring
Diagram Reference: 35
Get Part
9470200437
Plug, spark (lkr6e)
Diagram Reference: 36
Get Part