Yamaha Outboard Parts - Carburetor - 25NMHO (2001) | Flood Marine

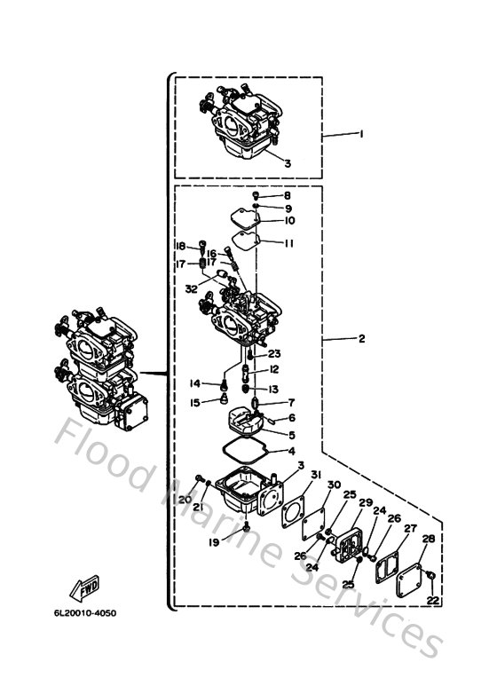
Diagram: Carburetor

Diagram

Parts List

Reference
Description
Price