Yamaha Outboard Parts - Control - FT9.9AMH (1985) | Flood Marine
New Search
Parts
New Outboards
Home
FT9.9AMH (1985)
Control
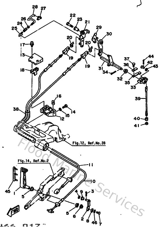
Diagram: Control
Parts List
Reference
Description
Price
1
6G8441210000
Lever, Shift Rod
Loading…
↗
2
6G8441230000
Arm, Shift Rod
Loading…
↗
3
914901601000
Pin, cotter
Loading…
↗
4
929900520000
Ybs66-5 washer, plain
Loading…
↗
5
903861206900
Bush(666)
Loading…
↗
6
902061205200
Washer, wave (666)
Loading…
↗
7
970950601600
Bolt, hexagon deep recess
Loading…
↗
9
9038605M5400
Bushing (6g8)
Loading…
↗
10
6G8483110000
Cable
Loading…
↗
11
6G8483211000
Cable
Loading…
↗
12
6G8416610000
Bracket 1
Loading…
↗
13
6G8416620000
Bracket 2
Loading…
↗
14
973950601600
Bolt, hexagon deep recess
Loading…
↗
15
929900660000
Washer, plain (646)
Loading…
↗
16
6G8416540000
Nut
Loading…
↗
17
9015905M0600
Screw (6g8)
Loading…
↗
18
6G8416630000
Bracket 3
Loading…
↗
19
6G8263630000
End, wire 1
Loading…
↗
20
6G8263640000
End, wire 2
Loading…
↗
21
6G8412120000
Arm, accel
Loading…
↗
22
970800603000
Bolt(jf7)
Loading…
↗
23
9038706M5800
Collar (6g8)
Loading…
↗
26
953800460000
Nut,hex
Loading…
↗
27
6G8412370000
Joint, link
Loading…
↗
29
6G8144930000
Stay 1
Loading…
↗
30
6G8441110000
Handle, gear shift 1
Loading…
↗
31
6G8441590000
Handle, gear shift 2
Loading…
↗
32
682441320000
Bushing
Loading…
↗
34
914902502000
Pin, cotter
Loading…
↗
35
682441160000
Spring
Loading…
↗
36
682441170000
Bracket 1
Loading…
↗
37
970130601200
Bolt(gh1)
Loading…
↗
38
9044520ME500
Hose
Loading…
↗
39
6G8441431000
Rod, shift
Loading…
↗
40
901700601500
Connector, shift rod
Loading…
↗
41
9538R0670000
Nut
Loading…
↗
42
917900502000
Pin, Clevis
Loading…
↗
43
929900560000
Washer, plain (646)
Loading…
↗
45
6G8421290000
Bushing, Rubber
Loading…
↗
46
929030660000
Washer, plain (646)
Loading…
↗