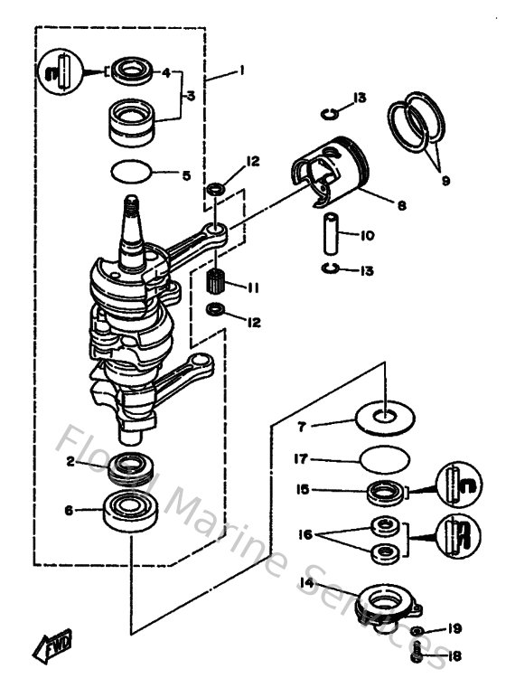
Yamaha Outboard Parts - Crankshaft & Piston - 25JETO (1990) | Flood Marine

Diagram: Crankshaft & Piston

Diagram