Yamaha Outboard Parts - Crankshaft & Piston - 50DEMTO (1991) | Flood Marine
New Search
Parts
New Outboards
Home
50DEMTO (1991)
Crankshaft & Piston
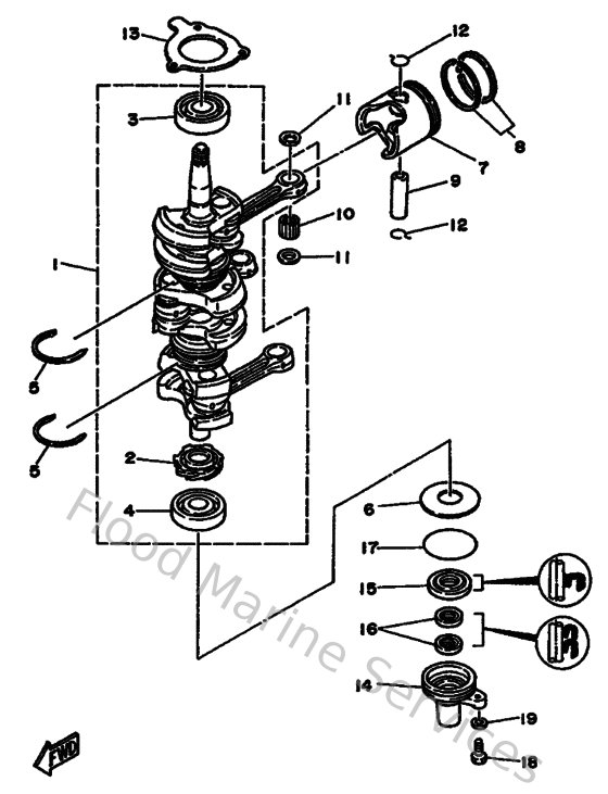
Diagram: Crankshaft & Piston
Parts List
Reference
Description
Price
1
6H4114001300
Crankshaft assembly
Loading…
↗
2
6H4115360000
Gear, drive
Loading…
↗
4
93306305U800
Bearing(6h4)
Loading…
↗
5
934406205700
Cir clip (656)
Loading…
↗
6
902015030600
Washer plate 648115870000
Loading…
↗
7
6H4116360100
Piston (0.50mm o/s)
Loading…
↗
8
6H4116010000
Piston ring set (std)
Loading…
↗
9
648116330000
Pin,piston
Loading…
↗
10
9360220M0200
Pin, dowel b (664)
Loading…
↗
11
6H4116410000
Washer, piston pin
Loading…
↗
12
6H4116340100
Clip, piston pin
Loading…
↗
13
6H4153690100
Gasket, oil seal housing
Loading…
↗
15
9310225M2800
Oil seal(6h4)
Loading…
↗
16
9310116M3600
Oil seal(6a8)
Loading…
↗
17
9321057M0900
O-ring (683)
Loading…
↗
18
973130602000
Bolt(7u8)
Loading…
↗
19
929900660000
Washer, plain (646)
Loading…
↗