Genuine Yamaha Outboard Parts Diagrams | Flood Marine

Diagram: ELECTRICAL 4

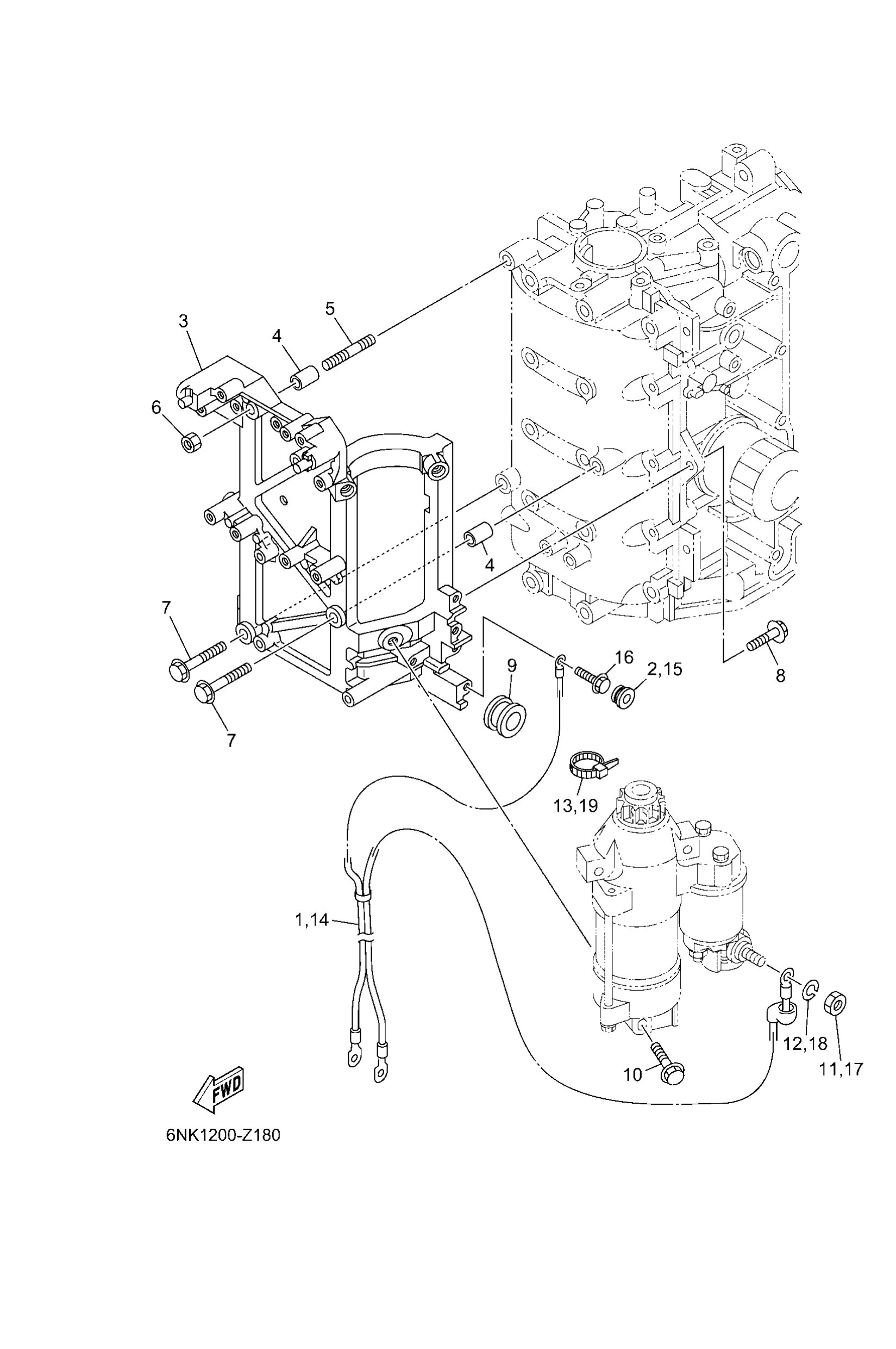
Diagram

Parts List

6C58210502 (FOR CAR,OTH)
Battery cable
Diagram Reference: 1
9048012072 (FOR CAR,OTH)
Grommet(53y)
Diagram Reference: 2
Bracket, starting motor
Diagram Reference: 3
Pin, dowel(3vd)
Diagram Reference: 4
Bolt, stud
Diagram Reference: 5
Nut (661)
Diagram Reference: 6
Bolt, hexagon w/w deep recess
Diagram Reference: 7
Bolt, hexagon w/w deep recess
Diagram Reference: 8
Grommet
Diagram Reference: 9
Bolt, with washer
Diagram Reference: 10
9533308600 (FOR CAR,OTH)
Nut(6l2)
Diagram Reference: 11
9290308100 (FOR CAR,OTH)
Ybs67-8 washer, spring
Diagram Reference: 12
9046513M18 (AP EXCEPT CAR,OTH)
Clamp
Diagram Reference: 19
6C582105U2 (AP FOR CSA,MEX,CHL)
Battery cable
Diagram Reference: 14
97E9506620 (AP EXCEPT CAR,OTH)
Bolt, hexagon w/w deep recess
Diagram Reference: 16