Genuine Yamaha Outboard Parts Diagrams | Flood Marine
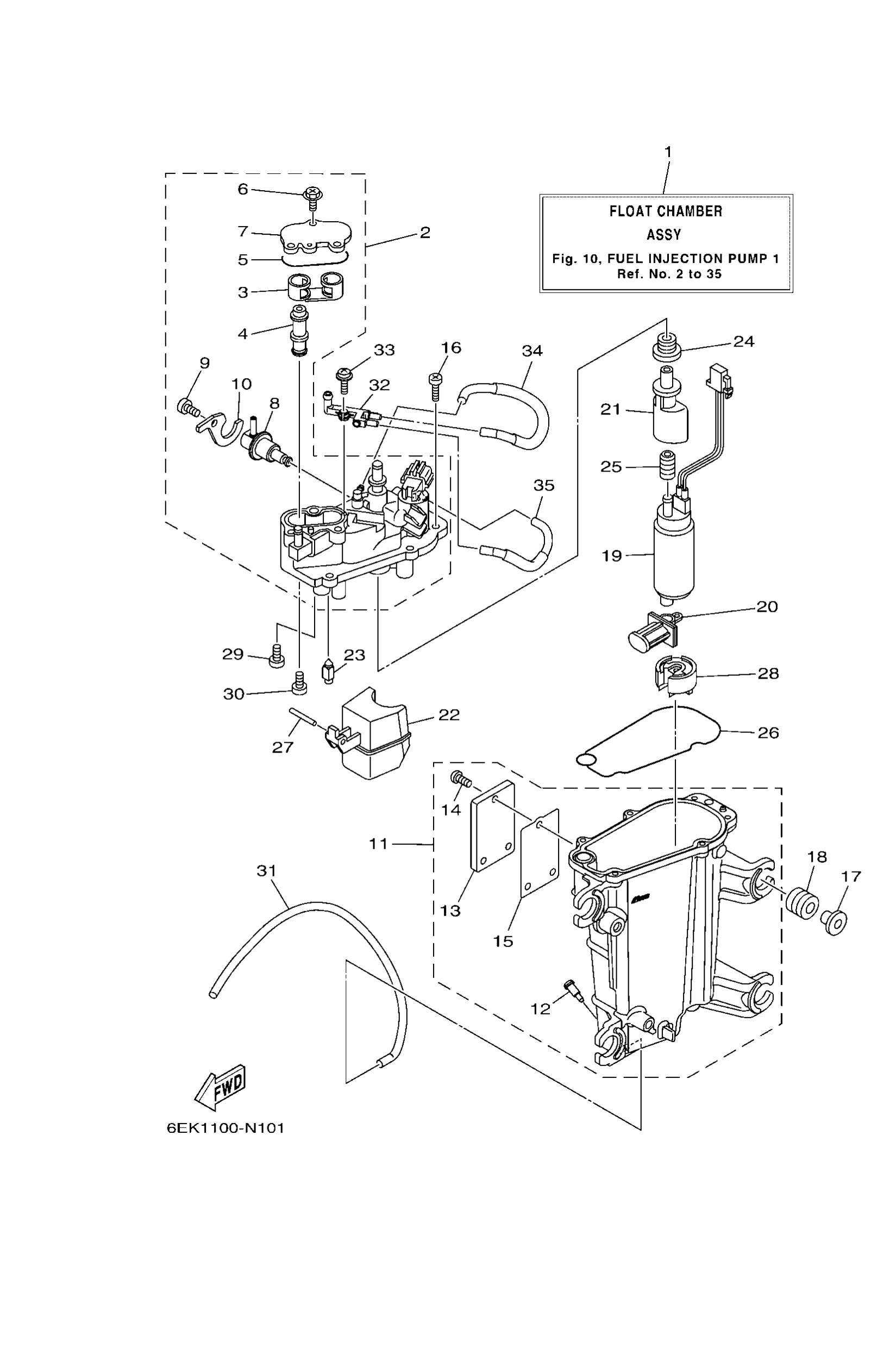
Diagram: FUEL INJECTION PUMP 1
Parts List
Float chamber assembly
Diagram Reference: 1
Cover, float chamber
Diagram Reference: 2
Joint
Diagram Reference: 3
Plug
Diagram Reference: 4
O-ring
Diagram Reference: 5
Screw
Diagram Reference: 6
Cover
Diagram Reference: 7
Regulator, pressure
Diagram Reference: 8
Screw
Diagram Reference: 9
Plate
Diagram Reference: 10
Body, float chamber 1
Diagram Reference: 11
Plug, drain
Diagram Reference: 12
Cover
Diagram Reference: 13
Screw
Diagram Reference: 14
Gasket 1
Diagram Reference: 15
Screw
Diagram Reference: 16
Collar
Diagram Reference: 17
Damper
Diagram Reference: 18
Fuel pump comp.
Diagram Reference: 19
Filter
Diagram Reference: 20
Joint
Diagram Reference: 21
Float
Diagram Reference: 22
Valve, needle
Diagram Reference: 23
Bush 1
Diagram Reference: 24
Damper, pump
Diagram Reference: 25
Gasket, float chamber
Diagram Reference: 26
Pin, float
Diagram Reference: 27
Cover, pump
Diagram Reference: 28
Screw
Diagram Reference: 29
Screw, pan head(jg1)
Diagram Reference: 30
Pipe
Diagram Reference: 31
Pipe, joint 4
Diagram Reference: 32
Screw
Diagram Reference: 33
Pipe 5
Diagram Reference: 34
Pipe 6
Diagram Reference: 35