Genuine Yamaha Outboard Parts Diagrams | Flood Marine

Diagram: FUEL INJECTION PUMP 1

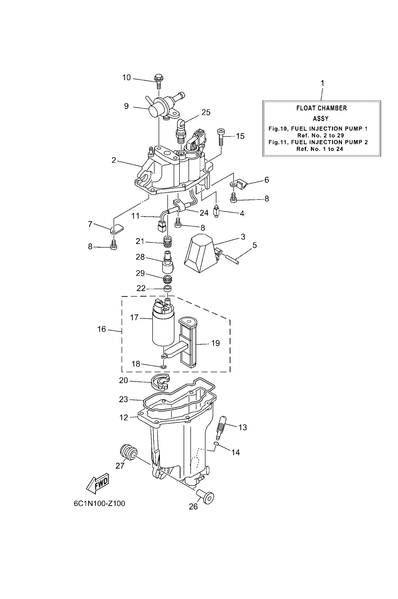
Diagram

Parts List

Float chamber assembly
Diagram Reference: 1
Cover, float chamber
Diagram Reference: 2
Float
Diagram Reference: 3
Valve, needle
Diagram Reference: 4
Pin, float
Diagram Reference: 5
Plate, baffle 1
Diagram Reference: 6
Plate, baffle 2
Diagram Reference: 7
Screw
Diagram Reference: 8
Regulator, pressure
Diagram Reference: 9
Bolt
Diagram Reference: 10
-
Diagram Reference: 11
Body assembly
Diagram Reference: 12
Plug, drain
Diagram Reference: 13
O-ring
Diagram Reference: 14
Screw
Diagram Reference: 15
Fuel Pump Comp.
Diagram Reference: 16
Fuel pump comp.
Diagram Reference: 17
Clip
Diagram Reference: 18
Filter
Diagram Reference: 19
Damper
Diagram Reference: 20
Damper, pump
Diagram Reference: 21
Collar
Diagram Reference: 22
Gasket, float chamber
Diagram Reference: 23
Clamp, cable
Diagram Reference: 24
Cap
Diagram Reference: 25
Collar (688)
Diagram Reference: 26
Grommet (6a0)
Diagram Reference: 27
Joint
Diagram Reference: 28
Damper, Pump
Diagram Reference: 29