Yamaha Outboard Parts - Fuel - 200GETOL (1999) | Flood Marine
New Search
Parts
New Outboards
Home
200GETOL (1999)
Fuel
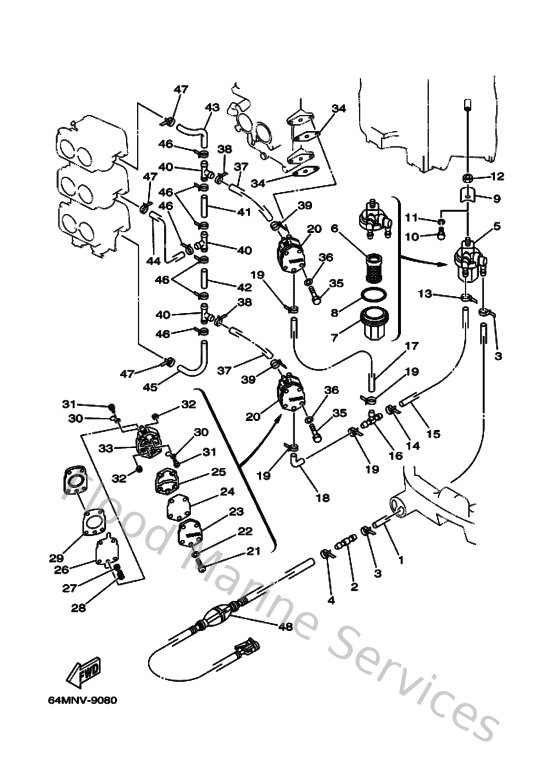
Diagram: Fuel
Parts List
Reference
Description
Price
2
6R3243770000
Pipe, joint 3
Loading…
↗
3
9046511M1000
Clamp
Loading…
↗
4
80L263970000
Band
Loading…
↗
5
6R3245600000
Filter assembly
Loading…
↗
6
61N245631000
Element, filter
Loading…
↗
7
61N245210000
Cup, filter
Loading…
↗
8
932103273800
O-ring(1wg)
Loading…
↗
9
648245660100
Bracket, Filter
Loading…
↗
10
970950601400
Bolt(gj3)
Loading…
↗
11
929030610000
Washer(6a1)
Loading…
↗
12
988800810000
Nut, hex.
Loading…
↗
15
6G5243140000
Pipe 4
Loading…
↗
16
6E5243780000
Pipe, joint 3
Loading…
↗
17
6K7243150000
Pipe 5
Loading…
↗
18
6E5243150000
Pipe 5
Loading…
↗
20
6E5244100300
Fuel pump assembly
Loading…
↗
21
985030503500
Screw, pan head (686)
Loading…
↗
22
929030560000
Washer, plain (646)
Loading…
↗
23
6E5244130000
Body 2
Loading…
↗
24
6E5244710000
Diaphragm
Loading…
↗
25
6E5244350000
Gasket, body 2
Loading…
↗
26
6E5244110000
Diaphragm
Loading…
↗
27
648244240000
Seat,spring
Loading…
↗
28
6E5244230000
Spring, diaphragm
Loading…
↗
29
6E5244340200
Gasket, body
Loading…
↗
30
6A0244210100
Valve, check
Loading…
↗
31
6A0143250000
Screw, pan head
Loading…
↗
32
953800360000
Nut (6g8)
Loading…
↗
33
6E5244120200
Body 1
Loading…
↗
34
65024431A000
Gasket,fuel pump
Loading…
↗
35
970950605000
Bolt(jf7)
Loading…
↗
36
929950660000
Washer, plain (646)
Loading…
↗
37
6G5243161000
Pipe 6
Loading…
↗
38
904651009800
Clamp
Loading…
↗
41
904451357900
Hose (l90)
Loading…
↗
42
9044513M0200
Hose (l90)
Loading…
↗
43
6K7243170000
Pipe 7
Loading…
↗
44
6K7243180000
Pipe, overflow
Loading…
↗
45
6K7243190000
Pipe, oil
Loading…
↗
48
6YK243064000
Fuel pipe comp. 1
Loading…
↗