Yamaha Outboard Parts - Fuel - S250AETOXLX (2000) | Flood Marine
New Search
Parts
New Outboards
Home
S250AETOXLX (2000)
Fuel
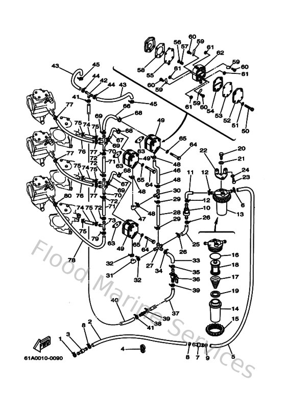
Diagram: Fuel
Parts List
Reference
Description
Price
1
9046511M1000
Clamp
Loading…
↗
2
9044513M1700
Hose(l2700)
Loading…
↗
3
6R3243770000
Pipe, joint 3
Loading…
↗
4
9046413M3400
Clamp(6r3)
Loading…
↗
5
61A243130000
Pipe 3
Loading…
↗
6
904651009800
Clamp
Loading…
↗
9
80L263970000
Band
Loading…
↗
10
6R5244080000
Fuel feed assembly
Loading…
↗
11
61A243110000
Pipe, fuel 1
Loading…
↗
13
61A245600200
Filter assembly
Loading…
↗
14
61A245210000
Cup, filter
Loading…
↗
15
61A245310000
Nut
Loading…
↗
16
61A245640000
O-ring
Loading…
↗
17
61A245770100
Spring
Loading…
↗
18
61A245630000
Element, filter
Loading…
↗
19
61A244690000
Float, water level
Loading…
↗
20
970950601400
Bolt(gj3)
Loading…
↗
21
929950660000
Washer, plain (646)
Loading…
↗
22
61A245660100
Bracket, filter
Loading…
↗
23
970950601600
Bolt, hexagon deep recess
Loading…
↗
27
6G5243770000
Pipe, joint 2
Loading…
↗
28
6G5243170100
Pipe 7
Loading…
↗
30
6E5243780000
Pipe, joint 3
Loading…
↗
31
6E5243150000
Pipe 5
Loading…
↗
36
61A245000000
Fuel cock assembly 1
Loading…
↗
37
9044510M4300
Hose (l400)
Loading…
↗
38
6E5217440000
Breezer
Loading…
↗
40
9044510M3400
Hose (L550)
Loading…
↗
42
688243780000
Pipe, joint
Loading…
↗
43
9044510M1700
Hose (l400)
Loading…
↗
46
6G5243150000
Pipe 5
Loading…
↗
49
6E5244100300
Fuel pump assembly
Loading…
↗
50
985030503500
Screw, pan head (686)
Loading…
↗
51
929900560000
Washer, plain (646)
Loading…
↗
52
6E5244130000
Body 2
Loading…
↗
53
6E5244710000
Diaphragm
Loading…
↗
54
6E5244350000
Gasket, body 2
Loading…
↗
55
6E5244110000
Diaphragm
Loading…
↗
56
648244240000
Seat,spring
Loading…
↗
57
6E5244230000
Spring, diaphragm
Loading…
↗
58
6E5244340200
Gasket, body
Loading…
↗
59
62Y244210100
Valve, check
Loading…
↗
60
6A0143250000
Screw, pan head
Loading…
↗
61
953800360000
Nut (6g8)
Loading…
↗
62
6E5244121000
Body 1
Loading…
↗
63
65024431A000
Gasket,fuel pump
Loading…
↗
64
970950605000
Bolt(jf7)
Loading…
↗
65
929900660000
Washer, plain (646)
Loading…
↗
67
9044513M3100
Hose (L85)
Loading…
↗
70
61A243770000
Pipe Joint 3
Loading…
↗
71
9044513M1400
Hose (l90)
Loading…
↗
74
904451357900
Hose (l90)
Loading…
↗
76
9044513M1200
Hose (L235)
Loading…
↗
78
9044513M1100
Pipe, fuel 1
Loading…
↗