Genuine Yamaha Outboard Parts Diagrams | Flood Marine
New Search
Parts
New Outboards
Home
60FET (2025)
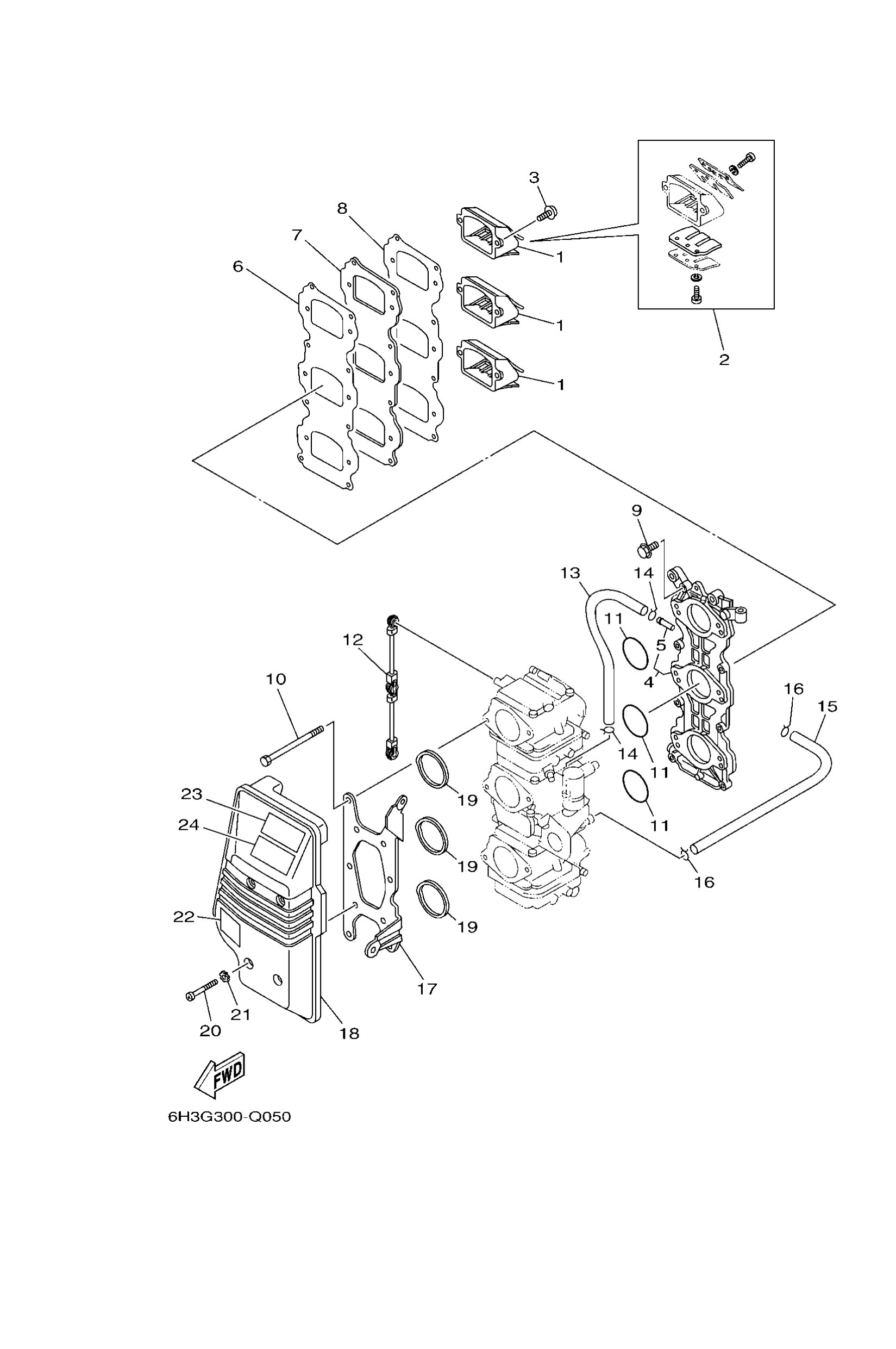
INTAKE
Diagram: INTAKE
Parts List
6H21361000
(60F)
Reed valve assembly
Diagram Reference: 1
Get Part
6H31361000
(70B)
Reed valve assembly
Diagram Reference: 1
Get Part
688W000400
Reed set
Diagram Reference: 2
Get Part
9798005216
Screw, pan w/ plain
Diagram Reference: 3
Get Part
6H31364115
(60F,70B-O/I)
Manifold, Intake 1
Diagram Reference: 4
Get Part
6H31364123
(60F-N.O/I)
Manifold, Intake 1
Diagram Reference: 4
Get Part
6H11448500
(FOR 6H3-13641-15)
Pipe, joint
Diagram Reference: 5
Get Part
6H313621A1
Gasket, valve seat
Diagram Reference: 6
Get Part
6H31362400
Plate, reed valve
Diagram Reference: 7
Get Part
6H313622A1
Gasket, valve seat
Diagram Reference: 8
Get Part
9011906MA3
Bolt, with washer
Diagram Reference: 9
Get Part
97D9506095
Bolt, hexagon deep recess
Diagram Reference: 10
Get Part
9321039ME4
O-ring(6h2)
Diagram Reference: 11
Get Part
6H34121700
Rod, accel lever
Diagram Reference: 12
Get Part
9044507255
Hose (l200)
Diagram Reference: 13
Get Part
9046706016
Clip (655)
Diagram Reference: 14
Get Part
6H31434900
Pipe
Diagram Reference: 15
Get Part
9046708004
Clip, pipe 6162435600
Diagram Reference: 16
Get Part
6H31441312
Stay
Diagram Reference: 17
Get Part
6H31444002
Silencer assembly, intake
Diagram Reference: 18
Get Part
6H31445702
Seal
Diagram Reference: 19
Get Part
9788506045
Screw, pan head(6b0)
Diagram Reference: 20
Get Part
9020906M05
Washer (688)
Diagram Reference: 21
Get Part
6H18571160
Mark, caution
Diagram Reference: 22
Get Part
6EE8199441
Label, Safety
Diagram Reference: 23
Get Part
6EE8199451
(FOR RUS,AFR)
Label, Safety
Diagram Reference: 24
Get Part