Genuine Yamaha Outboard Parts Diagrams | Flood Marine
New Search
Parts
New Outboards
Home
F300DET (2025)
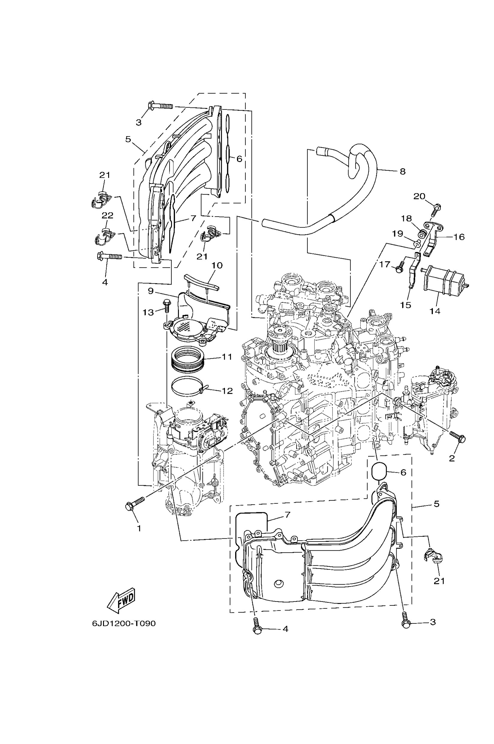
INTAKE 1
Diagram: INTAKE 1
Parts List
95D7508030
Bolt, flange deep recess
Diagram Reference: 1
Get Part
9011906299
Bolt, with washer
Diagram Reference: 2
Get Part
9011908020
Bolt, with washer
Diagram Reference: 3
Get Part
9010506035
Bolt, flange
Diagram Reference: 4
Get Part
6CE1364100
Manifold 1
Diagram Reference: 5
Get Part
6CB1364500
Gasket, manifold 1
Diagram Reference: 6
Get Part
6CB1364600
Gasket, manifold 2
Diagram Reference: 7
Get Part
6CB1537301
Pipe, breather
Diagram Reference: 8
Get Part
6CB1444001
Silencer assembly, intake
Diagram Reference: 9
Get Part
6CB8554700
Damper
Diagram Reference: 10
Get Part
6AW1441J01
Pipe, silencer
Diagram Reference: 11
Get Part
9046499004
Clamp
Diagram Reference: 12
Get Part
95D9506025
Bolt, flange deep recess
Diagram Reference: 13
Get Part
69J2417000
Canister assembly
Diagram Reference: 14
Get Part
69J2419A01
Holder
Diagram Reference: 15
Get Part
69J2134X00
Bracket, canister
Diagram Reference: 16
Get Part
97E9506516
Bolt, hexagon w/w deep recess
Diagram Reference: 17
Get Part
9048010M23
Grommet(6k7)
Diagram Reference: 18
Get Part
9038706289
Collar
Diagram Reference: 19
Get Part
9011906309
Bolt, with washer
Diagram Reference: 20
Get Part
9046413249
Clamp
Diagram Reference: 21
Get Part
9046420181
Clamp(4ap)
Diagram Reference: 22
Get Part