Yamaha Outboard Parts - Intake - 200GETOL (1999) | Flood Marine

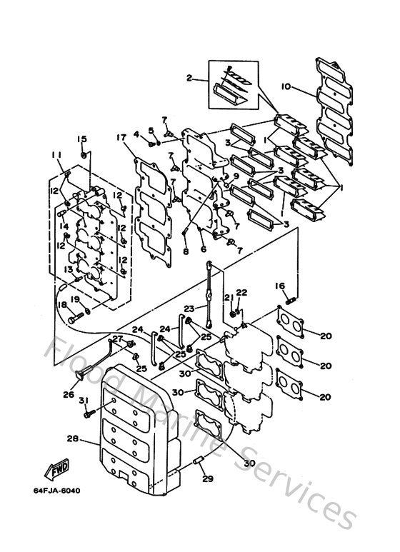
Diagram: Intake

Diagram

Parts List

Reference
Description
Price