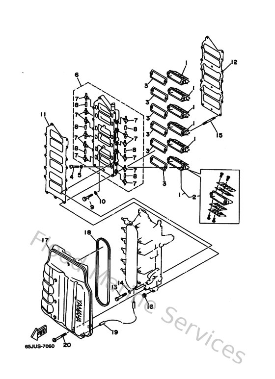
Yamaha Outboard Parts - Intake - 225GETOL (1999) | Flood Marine

Diagram: Intake

Diagram