Yamaha Outboard Parts - Intake - 80AETOL (2001) | Flood Marine
New Search
Parts
New Outboards
Home
80AETOL (2001)
Intake
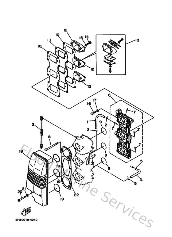
Diagram: Intake
Parts List
Reference
Description
Price
1
9044507M2300
Hose (l570)
Loading…
↗
2
904670601600
Clip (655)
Loading…
↗
3
688412170100
Rod, accel. lever
Loading…
↗
4
6H3143490000
Pipe
Loading…
↗
5
904670800400
Clip, pipe 6162435600
Loading…
↗
6
999990403100
Manifold, intake 1 & hose
Loading…
↗
7
6H1144850000
Pipe, joint
Loading…
↗
8
970950609500
Bolt, hexagon deep recess
Loading…
↗
9
9321039ME400
O-ring(6h2)
Loading…
↗
10
68813621A100
Gasket, valve seat
Loading…
↗
11
688136240000
Plate, reed valve
Loading…
↗
12
688136100000
Reed valve assembly
Loading…
↗
13
688W00040000
Reed set
Loading…
↗
14
978800502000
Screw, pan head (e22)
Loading…
↗
15
929900510000
Ybs67-5 washer, spring
Loading…
↗
16
970130603000
Bolt
Loading…
↗
17
929950610000
Washer(6a1)
Loading…
↗
18
6H1144400200
Silencer assembly
Loading…
↗
19
932104604400
O-ring
Loading…
↗
20
978850605000
Screw pan head
Loading…
↗
21
9020906M0500
Washer (688)
Loading…
↗
22
6H1144130200
Stay
Loading…
↗