Yamaha Outboard Parts - Intake 1 - 175DETOL (1997) | Flood Marine
New Search
Parts
New Outboards
Home
175DETOL (1997)
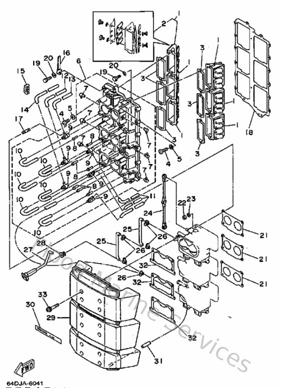
Intake 1
Diagram: Intake 1
Parts List
Reference
Description
Price
1
6E5136100000
Reed valve assembly
Loading…
↗
2
6E5W00040000
Reed set
Loading…
↗
3
6E513621A100
Gasket, valve seat
Loading…
↗
4
985800501600
Screw, pan head(6b0)
Loading…
↗
5
929900560000
Washer, plain (646)
Loading…
↗
6
6G513641111S
Manifold 1
Loading…
↗
7
6E5135520000
Nozzle
Loading…
↗
8
624144850000
Pipe, joint
Loading…
↗
9
6E5113700100
Check valve assembly
Loading…
↗
10
9044507M2800
Hose (l200)
Loading…
↗
11
9044507M4500
Hose (l390)
Loading…
↗
12
9044507M9000
Hose (l390)
Loading…
↗
13
9044507M0900
Hose (l390)
Loading…
↗
14
9044507M5900
Hose (l770)
Loading…
↗
15
9046407M0500
Clamp (6g5)
Loading…
↗
16
9046507M2000
Clamp
Loading…
↗
17
9011606M3000
Bolt, stud(6e5)
Loading…
↗
18
6G513645A100
Gasket, manifold 1
Loading…
↗
19
970130602500
Bolt(62y)
Loading…
↗
20
929900660000
Washer, plain (646)
Loading…
↗
21
6E514198A200
Gasket
Loading…
↗
22
953800660000
Nut(661)
Loading…
↗
23
929950610000
Washer(6a1)
Loading…
↗
24
6G5412170100
Rod, accel. lever
Loading…
↗
25
6E5412560100
Rod, choke 1
Loading…
↗
26
661412620200
Joint, choke lever
Loading…
↗
27
6R3412710000
Knob, choke
Loading…
↗
28
689412730000
Grommet
Loading…
↗
29
64D144400000
Silencer assembly, Intake
Loading…
↗
31
9044507MA300
Hose (l200)
Loading…
↗
32
6K7144830000
Gasket
Loading…
↗
33
9015906M1400
Screw, with washer(6r3)
Loading…
↗