Yamaha Outboard Parts - Kits De Reparation 1 - 6CEM (1996) | Flood Marine
New Search
Parts
New Outboards
Home
6CEM (1996)
Kits De Reparation 1
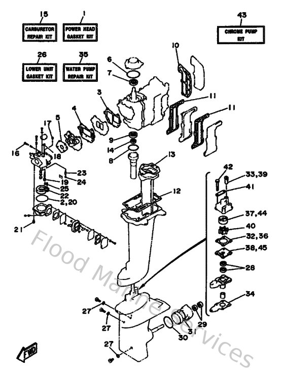
Diagram: Kits De Reparation 1
Parts List
Reference
Description
Price
1
6G1W00010200
Gasket kit, power unit
Loading…
↗
2
6G1149840000
Gasket, float chamber
Loading…
↗
3
6G1136210000
Gasket, valve seat
Loading…
↗
4
6G113645A100
Gasket, intake manifold
Loading…
↗
5
6G114198A100
Gasket
Loading…
↗
6
9321054M5400
O-ring (6g1)
Loading…
↗
7
9310220M2500
Oil seal (6e0)
Loading…
↗
8
932104215900
O-ring (647)
Loading…
↗
9
9310120M2900
Oil seal(6j1)
Loading…
↗
10
6G111193A100
Gasket, head cover 1
Loading…
↗
11
6G141112A100
Gasket, exhaust inner cover
Loading…
↗
12
6G145113A100
Gasket, upper casing
Loading…
↗
13
6G141133A000
Gasket, exhaust manifold 1
Loading…
↗
14
9310112M2600
Oil seal(6g1)
Loading…
↗
15
6G1W00930000
Carburetor repair kit
Loading…
↗
16
679149230000
Screw, pilot
Loading…
↗
17
6G1149660000
Cap
Loading…
↗
18
6G1141260000
Packing
Loading…
↗
19
679149660000
Rubber cap
Loading…
↗
21
979800411400
Screw, pan head(ga5)
Loading…
↗
22
6G1149850000
Float comp.
Loading…
↗
23
6G1145460100
Valve, needle
Loading…
↗
24
676141860000
Pin, valve
Loading…
↗
25
688145480000
Pin, arm
Loading…
↗
26
6G1W0001C100
Gasket kit, lower unit
Loading…
↗
27
904300802000
Gasket
Loading…
↗
28
9310111M2300
Oil seal (6g1)
Loading…
↗
29
931011507400
Oil seal (655)
Loading…
↗
30
932104904600
O-ring (620)
Loading…
↗
31
932105367900
O-ring(50m)
Loading…
↗
32
6G144315A000
Gasket,water pump
Loading…
↗
33
647443660000
Damper, water seal 2
Loading…
↗
34
6G145315A000
Packing, lower casing
Loading…
↗
35
6N0W0078A000
Water pump repair kit
Loading…
↗
37
6G1443220000
Insert, cartridge
Loading…
↗
38
6G1443230000
Outer plate, cartridge
Loading…
↗
40
6G1443520000
Impeller
Loading…
↗
41
6G1443280000
Plate
Loading…
↗
42
970950604500
Bolt, hexagon
Loading…
↗
43
6G1W00780A00
Chrome pump kit
Loading…
↗
44
6G1443224000
Insert, cartridge
Loading…
↗
45
6G1443234000
Outer plate, cartridge
Loading…
↗