Genuine Yamaha Outboard Parts Diagrams | Flood Marine

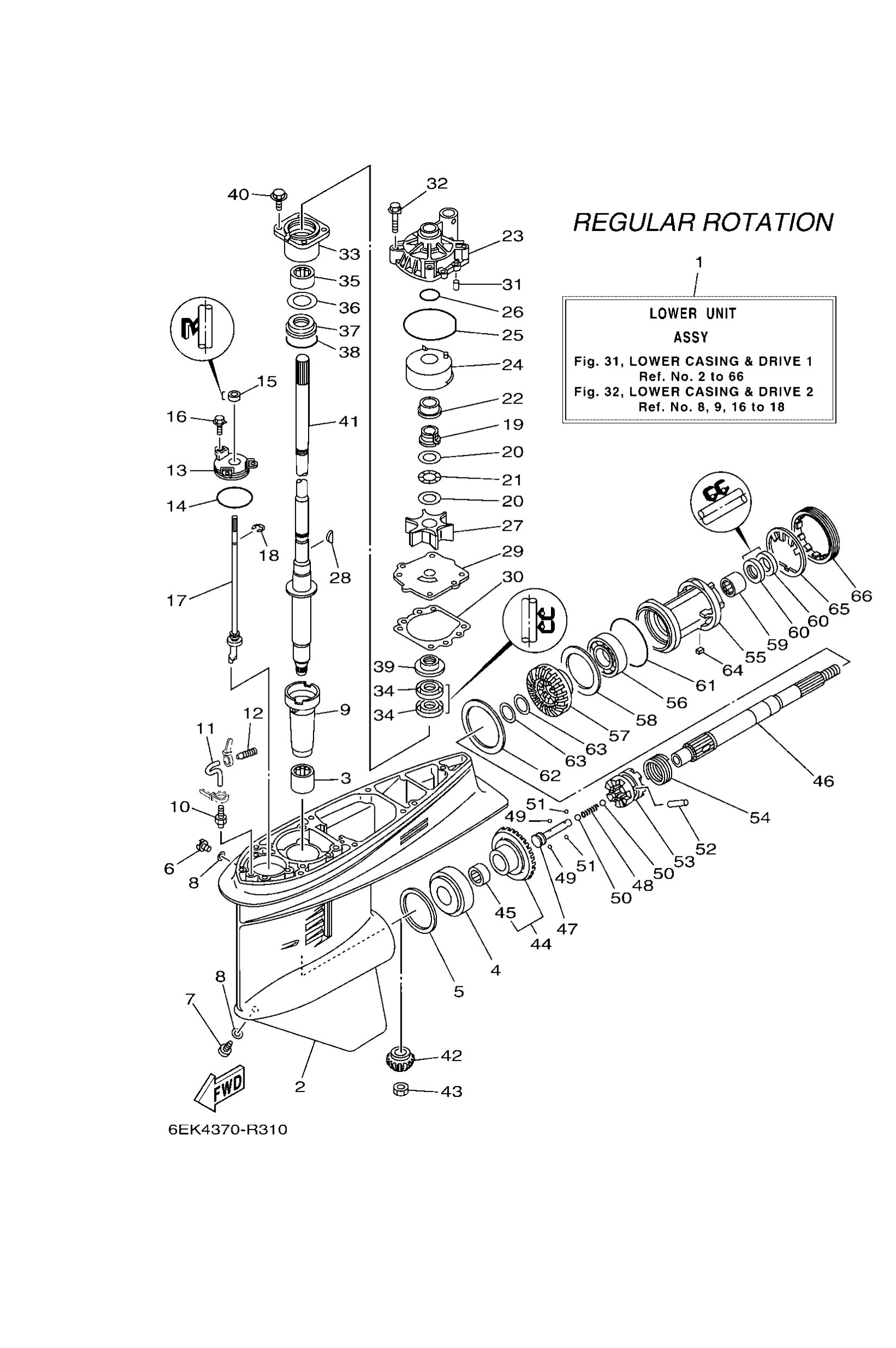
Diagram: LOWER CASING & DRIVE 1

Diagram

Parts List

6EK45300138D (X(25.3"),RH)
Lower unit assembly
Diagram Reference: 1
6EK45300038D (L(20.3"),RH)
Lower unit assembly
Diagram Reference: 1
Casing, lower
Diagram Reference: 2
Brg,cyl-cal roller (6e5)
Diagram Reference: 3
Brg,tapered roller 76mm (6e5)
Diagram Reference: 4
6E54556701 (UR)
Shim (t:0.10mm)
Diagram Reference: 5
6E54556710 (UR)
Shim (t:0.12mm)
Diagram Reference: 5
6E54556720 (UR)
Shim (t:0.15mm)
Diagram Reference: 5
6E54556730 (UR)
Shim (t:0.18mm)
Diagram Reference: 5
6E54556740 (UR)
Shim (t:0.30mm)
Diagram Reference: 5
6E54556750 (UR)
Shim (t:0.40mm)
Diagram Reference: 5
6E54556760 (UR)
Shim (t:0.50mm)
Diagram Reference: 5
Plug, straight screw
Diagram Reference: 6
Plug, drain
Diagram Reference: 7
Gasket
Diagram Reference: 8
Sleeve, drive shaft
Diagram Reference: 9
Nipple, hose
Diagram Reference: 10
9044507ME8 (L(20.3"))
Hose (l250)
Diagram Reference: 11
9044507ME9 (X(25.3"))
Hose (l250)
Diagram Reference: 11
End, nipple
Diagram Reference: 12
Plate
Diagram Reference: 13
O-ring(47x)
Diagram Reference: 14
Oil seal
Diagram Reference: 15
Bolt, with washer
Diagram Reference: 16
Shift cam assembly
Diagram Reference: 17
Circlip(2r6)
Diagram Reference: 18
Spacer, 1
Diagram Reference: 19
Washer, plate(61a)
Diagram Reference: 20
Washer, wave(61a)
Diagram Reference: 21
Collar, drive shaft
Diagram Reference: 22
Housing, water pump
Diagram Reference: 23
Insert, cartridge
Diagram Reference: 24
O-ring (6e5)
Diagram Reference: 25
O-ring (6g8)
Diagram Reference: 26
Impeller
Diagram Reference: 27
Key, woodruff (6e5)
Diagram Reference: 28
Outer plate, cartridge
Diagram Reference: 29
Gasket,water pump
Diagram Reference: 30
Pin, dowel (614)
Diagram Reference: 31
Bolt, with washer
Diagram Reference: 32
Housing, bearing
Diagram Reference: 33
Oil seal (6e5)
Diagram Reference: 34
Bearing, cylindrical(6k0)
Diagram Reference: 35
6E54558701 (UR)
Shim (t:0.10mm)
Diagram Reference: 36
6E54558760 (UR)
Shim (t:0.50mm)
Diagram Reference: 36
6E54558750 (UR)
Shim (t:0.40mm)
Diagram Reference: 36
6E54558740 (UR)
Shim (t:0.30mm)
Diagram Reference: 36
6E54558720 (UR)
Shim (t:0.15mm)
Diagram Reference: 36
6E54558730 (UR)
Shim (t:0.18mm)
Diagram Reference: 36
6E54558710 (UR)
Shim (t:0.12mm)
Diagram Reference: 36
Bearing, thrust(64d)
Diagram Reference: 37
O-ring (70e)
Diagram Reference: 38
Cover, oil seal
Diagram Reference: 39
Bolt, hexagon w/w deep recess
Diagram Reference: 40
6EK4550100 (L(20.3"))
Drive shaft comp.
Diagram Reference: 41
6EK4550110 (X(25.3"))
Drive shaft comp.
Diagram Reference: 41
Pinion
Diagram Reference: 42
Nut, hexagon (688)
Diagram Reference: 43
Gear
Diagram Reference: 44
Brg,cyl-cal roller (6e5)
Diagram Reference: 45
Shaft, propeller
Diagram Reference: 46
Slide, shift
Diagram Reference: 47
Spring (6g5)
Diagram Reference: 48
Ball (12r)
Diagram Reference: 49
Ball (498)
Diagram Reference: 50
Ball
Diagram Reference: 51
Pin, straight (6g5)
Diagram Reference: 52
Clutch, dog
Diagram Reference: 53
Ring, cross pin
Diagram Reference: 54
Housing, bearing
Diagram Reference: 55
Brg,r-b 6208 80mm 345g (6e5)
Diagram Reference: 56
Gear
Diagram Reference: 57
Washer, thrust 2
Diagram Reference: 58
Bearing
Diagram Reference: 59
Oil seal (6e5)
Diagram Reference: 60
O-ring (6e5)
Diagram Reference: 61
6L64557710 (UR)
Shim (t:0.12mm)
Diagram Reference: 62
6L64557740 (UR)
Shim (t:0.30mm)
Diagram Reference: 62
6L64557730 (UR)
Shim (t:0.18mm)
Diagram Reference: 62
6L64557720 (UR)
Shim (t:0.15mm)
Diagram Reference: 62
6L64557700 (UR)
Shim (t:0.10mm)
Diagram Reference: 62
6L64557750 (UR)
Shim (t:0.40mm)
Diagram Reference: 62
6L64557760 (UR)
Shim (t:0.50mm)
Diagram Reference: 62
Washer (6g5)
Diagram Reference: 63
Key, strait(663)
Diagram Reference: 64
Washer, claw
Diagram Reference: 65
Nut
Diagram Reference: 66