Genuine Yamaha Outboard Parts Diagrams | Flood Marine
New Search
Parts
New Outboards
Home
F300DET (2025)
LOWER CASING & DRIVE 3
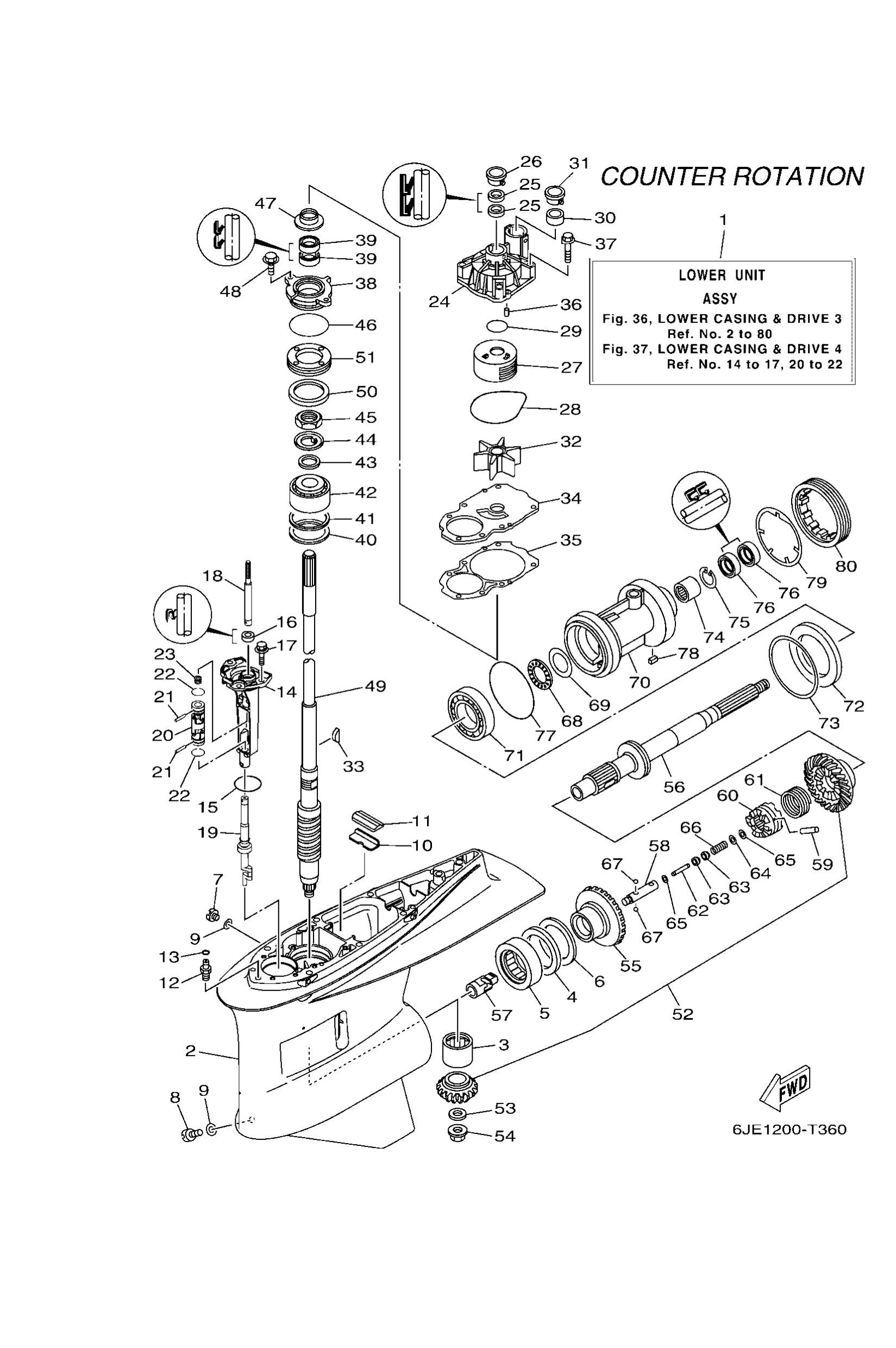
Diagram: LOWER CASING & DRIVE 3
Parts List
6JE45300018D
(X(25.3"),LH)
Lower unit assembly
Diagram Reference: 1
Get Part
6JE45300118D
(U(30.3"),LH)
Lower unit assembly
Diagram Reference: 1
Get Part
6JD45301008D
Casing, lower
Diagram Reference: 2
Get Part
9331193590
Bearing
Diagram Reference: 3
Get Part
9334067011
Bearing
Diagram Reference: 4
Get Part
9339000031
Bearing
Diagram Reference: 5
Get Part
6AW4556700
(UR)
Shim (t:2.00mm)
Diagram Reference: 6
Get Part
6AW4556710
(UR)
Shim (t:2.03mm)
Diagram Reference: 6
Get Part
6AW4556720
(UR)
Shim (t:2.06mm)
Diagram Reference: 6
Get Part
6AW4556730
(UR)
Shim (t:2.09mm)
Diagram Reference: 6
Get Part
6AW4556740
(UR)
Shim (t:2.12mm)
Diagram Reference: 6
Get Part
6AW4556750
(UR)
Shim (t:2.15mm)
Diagram Reference: 6
Get Part
9034008002
Plug, straight screw
Diagram Reference: 7
Get Part
6884534110
Plug, drain
Diagram Reference: 8
Get Part
9043008003
Gasket
Diagram Reference: 9
Get Part
61A4537600
Guide, seal damper
Diagram Reference: 10
Get Part
6JD4537500
Damper, seal
Diagram Reference: 11
Get Part
63P4537800
Nipple, hose
Diagram Reference: 12
Get Part
9321007003
O-ring (11m)
Diagram Reference: 13
Get Part
6JD4532100
Plate
Diagram Reference: 14
Get Part
9321058144
O-ring(47x)
Diagram Reference: 15
Get Part
9310112M70
Oil seal
Diagram Reference: 16
Get Part
9011908180
Bolt, with washer
Diagram Reference: 17
Get Part
6JD4415300
(X(25.3"))
Rod, shift 3
Diagram Reference: 18
Get Part
6JD4415310
(U(30.3"))
Rod, shift 3
Diagram Reference: 18
Get Part
6JD4415000
Shift cam assembly
Diagram Reference: 19
Get Part
6JD4586000
Universal joint assembly
Diagram Reference: 20
Get Part
6JD4552400
Pin
Diagram Reference: 21
Get Part
6JD4531900
Clip
Diagram Reference: 22
Get Part
90501127J4
Spring, compression(jn9)
Diagram Reference: 23
Get Part
6CE4431101
Housing, water pump
Diagram Reference: 24
Get Part
9310422M07
Oil seal(61a)
Diagram Reference: 25
Get Part
6AW4431200
Cover, water pump housing
Diagram Reference: 26
Get Part
6JD4432200
Insert, cartridge
Diagram Reference: 27
Get Part
9321094003
O-ring
Diagram Reference: 28
Get Part
9321037160
O-ring (6g8)
Diagram Reference: 29
Get Part
6AW4436501
Damper, water seal 1
Diagram Reference: 30
Get Part
6CE4435200
Impeller
Diagram Reference: 32
Get Part
9028004002
Key, woodruff
Diagram Reference: 33
Get Part
6JD4432300
Outer plate, cartridge
Diagram Reference: 34
Get Part
6JD4431500
Gasket, water pump
Diagram Reference: 35
Get Part
9360612019
Pin, dowel (614)
Diagram Reference: 36
Get Part
9011908191
Bolt, with washer
Diagram Reference: 37
Get Part
6AW4533500CA
Housing, oil seal
Diagram Reference: 38
Get Part
9310128019
Oil seal
Diagram Reference: 39
Get Part
9020168008
Washer, plate
Diagram Reference: 40
Get Part
6AW4558700
(UR)
Shim (t:0.10mm)
Diagram Reference: 41
Get Part
6AW4558710
(UR)
Shim (t:0.12mm)
Diagram Reference: 41
Get Part
6AW4558720
(UR)
Shim (t:0.15mm)
Diagram Reference: 41
Get Part
6AW4558730
(UR)
Shim (t:0.18mm)
Diagram Reference: 41
Get Part
6AW4558740
(UR)
Shim (t:0.30mm)
Diagram Reference: 41
Get Part
6AW4558750
(UR)
Shim (t:0.40mm)
Diagram Reference: 41
Get Part
6AW4558760
(UR)
Shim (t:0.50mm)
Diagram Reference: 41
Get Part
9339999962
Bearing
Diagram Reference: 42
Get Part
90201301U7
Washer, plate
Diagram Reference: 43
Get Part
9021430003
Washer, claw
Diagram Reference: 44
Get Part
9017030M18
Nut(6t5)
Diagram Reference: 45
Get Part
9321069MG6
O-ring
Diagram Reference: 46
Get Part
6KA4534400
Cover, oil seal
Diagram Reference: 47
Get Part
97E9508520
Bolt, hexagon w/w deep recess
Diagram Reference: 48
Get Part
6JD4550100
(X(25.3"))
Drive shaft comp.
Diagram Reference: 49
Get Part
6JD4550110
(U(30.3"))
Drive shaft comp.
Diagram Reference: 49
Get Part
6T54553900
Spacer 2
Diagram Reference: 50
Get Part
6AW4524400
Nut
Diagram Reference: 51
Get Part
6JE4555000
Gear set
Diagram Reference: 52
Get Part
9020118023
Washer, plate
Diagram Reference: 53
Get Part
9017918009
Nut
Diagram Reference: 54
Get Part
6JE4556000
Gear 1 (26t)
Diagram Reference: 55
Get Part
6JE4561100
Shaft, propeller
Diagram Reference: 56
Get Part
6JE4564100
Shifter
Diagram Reference: 57
Get Part
61A4563401
Slide, shift
Diagram Reference: 58
Get Part
6AW4563200
Pin, cross
Diagram Reference: 59
Get Part
6AW4563100
Clutch, dog
Diagram Reference: 60
Get Part
6AW4563300
Ring, cross pin
Diagram Reference: 61
Get Part
6H14566800
Shaft, free 1
Diagram Reference: 62
Get Part
61A4563500
Plunger, shift
Diagram Reference: 63
Get Part
9020102M00
Washer, plate(61a)
Diagram Reference: 64
Get Part
9018302M03
Nut, spring (6h1)
Diagram Reference: 65
Get Part
9050110M77
Spring, compression(61a)
Diagram Reference: 66
Get Part
9350104011
Ball
Diagram Reference: 67
Get Part
93341440U5
Bearing, thrust (6k0)
Diagram Reference: 68
Get Part
6K14557801
(UR)
Shim (t:0.10mm)
Diagram Reference: 69
Get Part
6K14557810
(UR)
Shim (t:0.12mm)
Diagram Reference: 69
Get Part
6K14557820
(UR)
Shim (t:0.15mm)
Diagram Reference: 69
Get Part
6K14557830
(UR)
Shim (t:0.18mm)
Diagram Reference: 69
Get Part
6K14557840
(UR)
Shim (t:0.30mm)
Diagram Reference: 69
Get Part
6K14557850
(UR)
Shim (t:0.40mm)
Diagram Reference: 69
Get Part
6K14557860
(UR)
Shim (t:0.50mm)
Diagram Reference: 69
Get Part
6AX4533200
Housing, bearing
Diagram Reference: 70
Get Part
93332000A2
Bearing
Diagram Reference: 71
Get Part
6AW4557600
Washer, thrust 2
Diagram Reference: 72
Get Part
6AW4557700
(UR)
Shim (t:0.10mm)
Diagram Reference: 73
Get Part
6AW4557710
(UR)
Shim (t:0.12mm)
Diagram Reference: 73
Get Part
6AW4557720
(UR)
Shim (t:0.15mm)
Diagram Reference: 73
Get Part
6AW4557730
(UR)
Shim (t:0.18mm)
Diagram Reference: 73
Get Part
6AW4557740
(UR)
Shim (t:0.30mm)
Diagram Reference: 73
Get Part
6AW4557750
(UR)
Shim (t:0.40mm)
Diagram Reference: 73
Get Part
6AW4557760
(UR)
Shim (t:0.50mm)
Diagram Reference: 73
Get Part
9331163591
Bearing
Diagram Reference: 74
Get Part
9900947500
Circlip(48y)
Diagram Reference: 75
Get Part
9310135019
Oil seal
Diagram Reference: 76
Get Part
9321110232
O-ring (278)
Diagram Reference: 77
Get Part
9028205008
Key, straight
Diagram Reference: 78
Get Part
6AW4538300
Washer, claw
Diagram Reference: 79
Get Part
6AW4538400
Nut
Diagram Reference: 80
Get Part