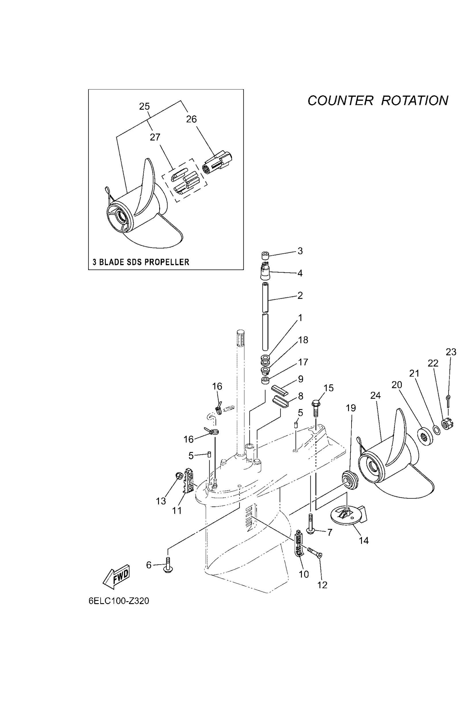
Parts List
Damper, water seal 2
Diagram Reference: 1
Pipe
Diagram Reference: 2
Damper, water seal 1
Diagram Reference: 3
Guide, water tube
Diagram Reference: 4
Pin, dowel b (6e5)
Diagram Reference: 5
Bolt, hexagon w/w deep recess
Diagram Reference: 6
Bolt, with washer
Diagram Reference: 7
Guide, seal damper
Diagram Reference: 8
Damper, seal 2
Diagram Reference: 9
Cover, water inlet
Diagram Reference: 10
Cover, water inlet
Diagram Reference: 11
Screw, countersunk
Diagram Reference: 12
Nut nylon (sus)(ex4)
Diagram Reference: 13
Tab-trim
Diagram Reference: 14
Bolt, hexagon (663)
Diagram Reference: 15
Clamp
Diagram Reference: 16
Damper, water seal 1
Diagram Reference: 17
Cover, water pump housing
Diagram Reference: 18
Spacer 1
Diagram Reference: 19
Spacer 2
Diagram Reference: 20
Washer (6e5)
Diagram Reference: 21
Nut, castle (6e5)
Diagram Reference: 22
Pin, cotter (663)
Diagram Reference: 23
Propeller (3x13"x17"-kl)
Diagram Reference: 24
Propeller (3x13 x19 -kl)
Diagram Reference: 24
Propeller (ss 3x13"x21"-kl)
Diagram Reference: 24
Talon 3 x 13-1/8 x 14l-sds
Diagram Reference: 25
Talon 3 x 13-1/8 x 16l-sds
Diagram Reference: 25
Talon 3 x 13-1/8 x 18l-sds
Diagram Reference: 25
Talon 3 x 13-1/8 x 20l-sds
Diagram Reference: 25
Bush, propeller
Diagram Reference: 26
Damper rubber, propeller 2
Diagram Reference: 27