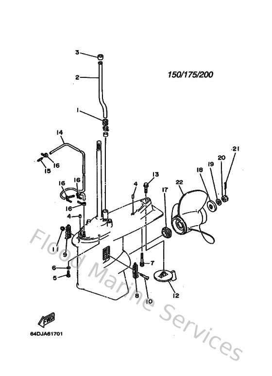
Yamaha Outboard Parts - Lower Casing & Drive 2 - L150FETOL (1997) | Flood Marine

Diagram: Lower Casing & Drive 2

Diagram