Genuine Yamaha Outboard Parts Diagrams | Flood Marine
New Search
Parts
New Outboards
Home
70BETO (2025)
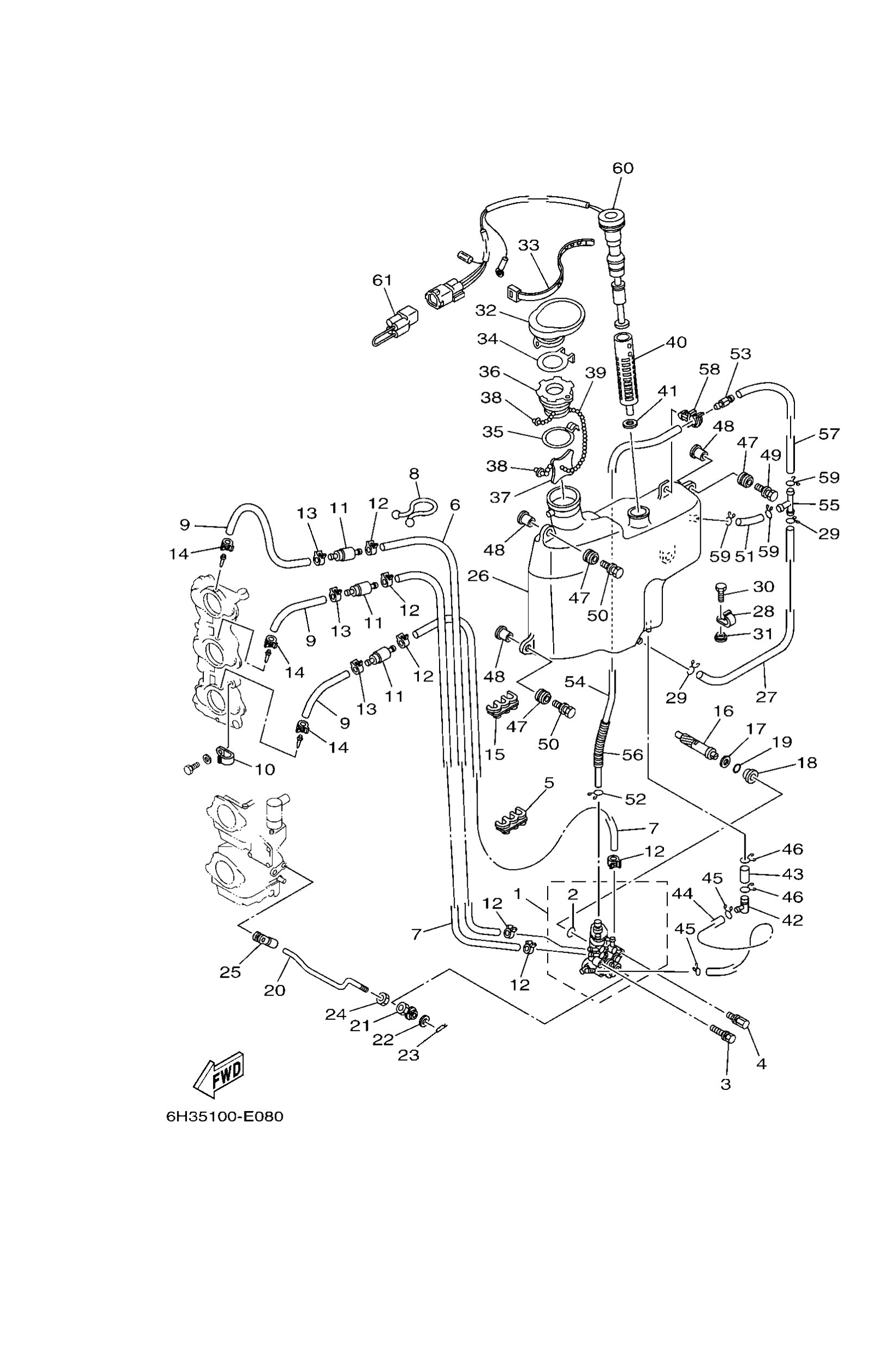
OIL PUMP
Diagram: OIL PUMP
Parts List
6H31320002
Oil injection pump assembly
Diagram Reference: 1
Get Part
9321019MA7
O-ring(6r0)
Diagram Reference: 2
Get Part
9010906M39
Bolt(6h0)
Diagram Reference: 3
Get Part
9010906M40
Bolt(6h0)
Diagram Reference: 4
Get Part
9046407M05
Clamp (6g5)
Diagram Reference: 5
Get Part
9044507M44
Hose (l390)
Diagram Reference: 6
Get Part
9044507M23
Hose (l570)
Diagram Reference: 7
Get Part
9046415M11
Clamp (3y2)
Diagram Reference: 8
Get Part
9044507M87
Hose(62t)
Diagram Reference: 9
Get Part
9046506M86
Clamp
Diagram Reference: 10
Get Part
6E91318370
Valve check
Diagram Reference: 11
Get Part
9046807M02
Clip (6e5)
Diagram Reference: 12
Get Part
6H31153701
Gear, driven
Diagram Reference: 16
Get Part
9020108M93
Washer, plate (6g5)
Diagram Reference: 17
Get Part
6H11311701
Collar, distance
Diagram Reference: 18
Get Part
9321013M04
93210-13m04
Diagram Reference: 19
Get Part
6H34124101
Rod, link
Diagram Reference: 20
Get Part
6H14123700
Joint, link
Diagram Reference: 21
Get Part
9020205088
Washer, plate (666)
Diagram Reference: 22
Get Part
9046805M03
Clip(6j8)
Diagram Reference: 23
Get Part
9538005600
Nut, hexagon (663)
Diagram Reference: 24
Get Part
6E94123700
Joint, link
Diagram Reference: 25
Get Part
6H32170706
Oil tank comp.
Diagram Reference: 26
Get Part
9044511M03
Hose (l360)
Diagram Reference: 27
Get Part
9046511M27
Clamp(6h1)
Diagram Reference: 28
Get Part
9046711M08
Clip(72x)
Diagram Reference: 29
Get Part
97D9506016
Bolt, hexagon deep recess
Diagram Reference: 30
Get Part
9038706M31
Coller (6a0)
Diagram Reference: 31
Get Part
6H32175201
Tube, filler 1
Diagram Reference: 32
Get Part
9046513M30
Clamp
Diagram Reference: 33
Get Part
63D2176M00
Hook
Diagram Reference: 34
Get Part
63D2175R00
Hook, band
Diagram Reference: 35
Get Part
6H42177001
Oil tank cap assembly
Diagram Reference: 36
Get Part
6J82175800
Washer, special 2
Diagram Reference: 37
Get Part
6H42175700
Washer, special 1
Diagram Reference: 38
Get Part
6H12463310
Chain, ball
Diagram Reference: 39
Get Part
6J81341100
Strainer, oil
Diagram Reference: 40
Get Part
6J81341400
Gasket, strainer cover
Diagram Reference: 41
Get Part
6H11343500
Nipple
Diagram Reference: 42
Get Part
9044508M01
Hose (l30)
Diagram Reference: 43
Get Part
6H12176601
Pipe, oil
Diagram Reference: 44
Get Part
9046708004
Clip, pipe 6162435600
Diagram Reference: 45
Get Part
9046712M11
Clip(6k8)
Diagram Reference: 46
Get Part
6A08231701
Damper, ignition coil
Diagram Reference: 47
Get Part
9038706119
Collar
Diagram Reference: 48
Get Part
9011906311
Bolt, with washer
Diagram Reference: 49
Get Part
9044511M21
Hose (l70)
Diagram Reference: 51
Get Part
9046710M04
Clip, pipe 1 (6e9)
Diagram Reference: 52
Get Part
63D2174400
Breather
Diagram Reference: 53
Get Part
9044511M15
Hose (l360)
Diagram Reference: 54
Get Part
6E52437800
Pipe, joint 3
Diagram Reference: 55
Get Part
9044610M01
Tube (6e5)
Diagram Reference: 56
Get Part
9044511M02
Hose (l100)
Diagram Reference: 57
Get Part
9046411M23
Clamp(6h4)
Diagram Reference: 58
Get Part
6H38572018
Oil level gauge assembly
Diagram Reference: 60
Get Part
6R582582B0
(AP)
Cover, wire harness
Diagram Reference: 61
Get Part