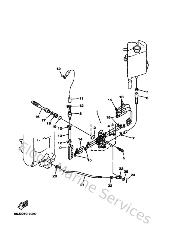
Yamaha Outboard Parts - Oil Pump - L225FETO (2000) | Flood Marine

Diagram: Oil Pump

Diagram