Genuine Yamaha Outboard Parts Diagrams | Flood Marine
New Search
Parts
New Outboards
Home
F300DET (2025)
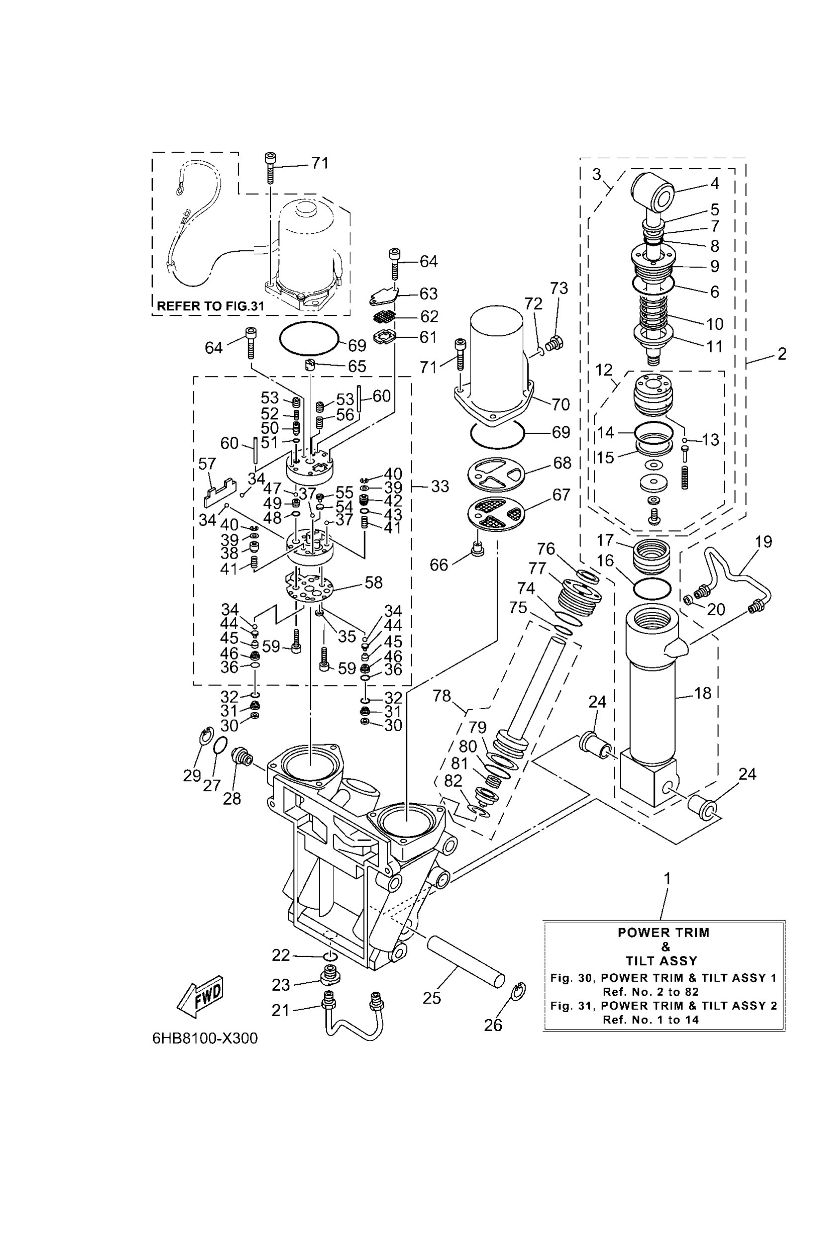
POWER TRIM & TILT ASSY 1
Diagram: POWER TRIM & TILT ASSY 1
Parts List
69J43800148D
Power trim & tilt assembly
Diagram Reference: 1
Get Part
6CE4384001
Power tilt assembly
Diagram Reference: 2
Get Part
6CE4381001
Tilt piston sub assembly
Diagram Reference: 3
Get Part
69J4380101
Rod
Diagram Reference: 4
Get Part
9310619001
Oil seal
Diagram Reference: 5
Get Part
63P4386120
O-ring
Diagram Reference: 6
Get Part
6H14387200
Ring, back up
Diagram Reference: 7
Get Part
61A4389H01
O-ring
Diagram Reference: 8
Get Part
61A4381100
Screw, cylinder end
Diagram Reference: 9
Get Part
69J4384H00
Spring
Diagram Reference: 10
Get Part
69J4382E00
Adaptor 2
Diagram Reference: 11
Get Part
6CE4380P00
Piston sub assembly
Diagram Reference: 12
Get Part
9350532038
Ball(7fk)
Diagram Reference: 13
Get Part
61A4386100
O-ring
Diagram Reference: 14
Get Part
61A4387100
Ring, back up
Diagram Reference: 15
Get Part
6H14381411
Piston, free
Diagram Reference: 17
Get Part
61A4381302
Cylinder, tilt
Diagram Reference: 18
Get Part
69J4383510
Pipe
Diagram Reference: 19
Get Part
69J4388J00
Plug 2
Diagram Reference: 20
Get Part
69J4383302
Pipe
Diagram Reference: 21
Get Part
9321017239
O-ring (1j7)
Diagram Reference: 22
Get Part
69J4388E01
Bolt ,screw
Diagram Reference: 23
Get Part
9038618M14
Bushing (6e5)
Diagram Reference: 24
Get Part
61A4381800
Pin, lower shock mount
Diagram Reference: 25
Get Part
61A4387601
Ring, snap
Diagram Reference: 26
Get Part
6D84386300
O-ring
Diagram Reference: 27
Get Part
69J4384500
Screw, manual release
Diagram Reference: 28
Get Part
6H14387500
Ring, snap
Diagram Reference: 29
Get Part
69J4381C00
Filter 3
Diagram Reference: 30
Get Part
69J4389901
Plate stopper
Diagram Reference: 31
Get Part
69J4389J00
O-ring
Diagram Reference: 32
Get Part
69J4383001
Gear pump assembly
Diagram Reference: 33
Get Part
9350316003
Ball
Diagram Reference: 37
Get Part
6CJ4384M00
Piston, shuttle 2
Diagram Reference: 38
Get Part
69A4384F00
Seal, main valve
Diagram Reference: 39
Get Part
9900203600
Circlip(6l5)
Diagram Reference: 40
Get Part
69J4389400
Spring, shuttle return
Diagram Reference: 41
Get Part
6CJ4384100
Piston, shuttle
Diagram Reference: 42
Get Part
6H14388300
O-ring
Diagram Reference: 43
Get Part
60V4386A00
Pin, absorber valve
Diagram Reference: 44
Get Part
69J4385300
Spring, main valve
Diagram Reference: 45
Get Part
6CJ4389300
Washer
Diagram Reference: 46
Get Part
9350108001
Ball
Diagram Reference: 47
Get Part
9321008391
O-ring
Diagram Reference: 48
Get Part
69J4385100
Seat, relief valve
Diagram Reference: 49
Get Part
63P4384420
Pin, valve support
Diagram Reference: 50
Get Part
93210064A5
O-ring(61a)
Diagram Reference: 51
Get Part
69J4385500
Spring, up relief
Diagram Reference: 52
Get Part
6CJ4384300
Screw, valve lock
Diagram Reference: 53
Get Part
6H14384G11
Seal, relief valve
Diagram Reference: 54
Get Part
6H14384410
Pin, valve support
Diagram Reference: 55
Get Part
6H14385610
Spring, down relief
Diagram Reference: 56
Get Part
69J4385400
Spring, manual release
Diagram Reference: 57
Get Part
69J4384G00
Seal, relief valve
Diagram Reference: 58
Get Part
9131805025
Bolt,socket
Diagram Reference: 59
Get Part
9360435236
Pin, dowel
Diagram Reference: 60
Get Part
69J4387100
Ring, back up
Diagram Reference: 61
Get Part
69J4381600
Filter 1
Diagram Reference: 62
Get Part
69J4381J00
Plate
Diagram Reference: 63
Get Part
9131805040
Bolt,socket
Diagram Reference: 64
Get Part
69J4383100
Connector, shaft
Diagram Reference: 65
Get Part
69J4388H00
Plug
Diagram Reference: 66
Get Part
69J4381700
Filter 2
Diagram Reference: 67
Get Part
69J4388F00
Spacer
Diagram Reference: 68
Get Part
9321066001
O-ring
Diagram Reference: 69
Get Part
69J4382800
Body, reservoir
Diagram Reference: 70
Get Part
69J4388800
Bolt, socket
Diagram Reference: 71
Get Part
9321009165
O-ring
Diagram Reference: 72
Get Part
6H14382900
Plug, reservoir
Diagram Reference: 73
Get Part
63P4381220
Seal, dust
Diagram Reference: 76
Get Part
61A4382102
Screw, trim cylinder end
Diagram Reference: 77
Get Part
69J4382001
Trim piston sub assembly
Diagram Reference: 78
Get Part
61A4387400
Ring, back up
Diagram Reference: 79
Get Part
61A4386400
O-ring
Diagram Reference: 80
Get Part
61A4384H10
Spring
Diagram Reference: 81
Get Part
61A4387510
Ring, snap
Diagram Reference: 82
Get Part