Genuine Yamaha Outboard Parts Diagrams | Flood Marine

Diagram: POWER TRIM & TILT ASSY 1

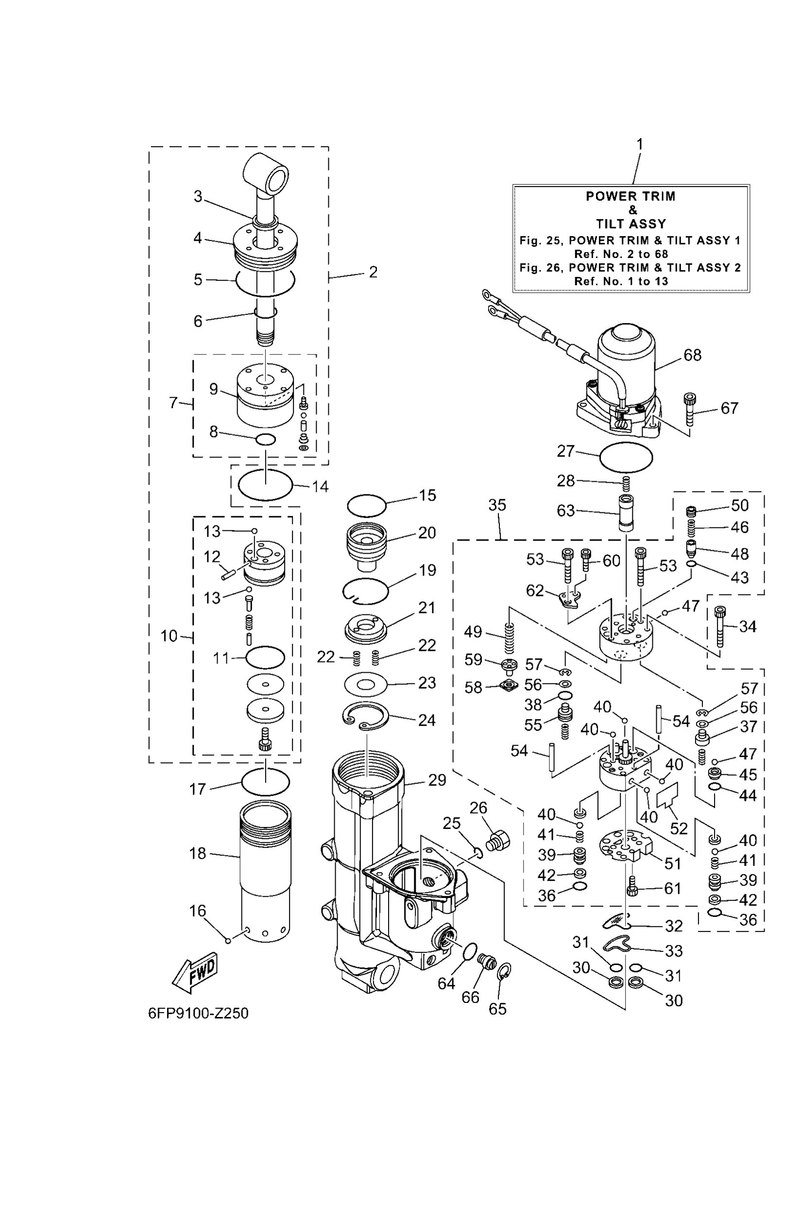
Diagram

Parts List

6EK4380004 (X(25.3"))
Power trim & tilt assembly
Diagram Reference: 1
6FP4380002 (L(20.3"))
Power trim & tilt assembly
Diagram Reference: 1
Tilt piston sub assembly
Diagram Reference: 2
Seal dast
Diagram Reference: 3
Screw, trim cylinder end
Diagram Reference: 4
O-ring
Diagram Reference: 5
O-ring
Diagram Reference: 6
Cylinder end sub assembly
Diagram Reference: 7
Screw, cylinder end
Diagram Reference: 9
Piston sub assembly
Diagram Reference: 10
O-ring
Diagram Reference: 11
91609-16012
Diagram Reference: 12
Ball(7fk)
Diagram Reference: 13
O-ring
Diagram Reference: 14
Ball
Diagram Reference: 16
O-ring
Diagram Reference: 17
Cylinder, shock absorber
Diagram Reference: 18
Ring, snap
Diagram Reference: 19
Free piston sub assembly
Diagram Reference: 20
Plate stopper
Diagram Reference: 21
Spring
Diagram Reference: 22
Plate, valve 1
Diagram Reference: 23
Circlip(48y)
Diagram Reference: 24
O-ring
Diagram Reference: 25
Plug, reservoir
Diagram Reference: 26
O-ring
Diagram Reference: 27
6FP4380K02 (FOR 6FP-43800-02)
Cylinder, tilt sub assembly
Diagram Reference: 29
6EK4380K04 (FOR 6EK-43800-04)
Cylinder, tilt sub assembly
Diagram Reference: 29
Filter 2
Diagram Reference: 30
O-ring
Diagram Reference: 31
Filter 1
Diagram Reference: 32
Plate
Diagram Reference: 33
Bolt
Diagram Reference: 34
6EK4383000 (FOR 6EK-43800-04)
Gear pump assembly
Diagram Reference: 35
6FP4383000 (FOR 6FP-43800-02)
Gear pump assembly
Diagram Reference: 35
Piston, shuttle 2
Diagram Reference: 37
O-ring
Diagram Reference: 38
Adaptor 2
Diagram Reference: 39
Spring, main valve
Diagram Reference: 41
Washer
Diagram Reference: 42
O-ring
Diagram Reference: 43
O-ring(61a)
Diagram Reference: 44
Seat, relief valve
Diagram Reference: 45
Spring, up relief
Diagram Reference: 46
Ball
Diagram Reference: 47
Pin, valve support
Diagram Reference: 48
Spring, down relief
Diagram Reference: 49
Screw, valve lock
Diagram Reference: 50
Seat, relief valve
Diagram Reference: 51
Spring, manual release
Diagram Reference: 52
Bolt
Diagram Reference: 53
Pin, dowel
Diagram Reference: 54
Piston, shuttle
Diagram Reference: 55
Seal, main valve
Diagram Reference: 56
Circlip(6l5)
Diagram Reference: 57
Seal, relief valve
Diagram Reference: 58
Pin, valve support
Diagram Reference: 59
Bolt
Diagram Reference: 60
Bolt
Diagram Reference: 61
Cap, relief valve
Diagram Reference: 62
Connector, shaft
Diagram Reference: 63
O-ring
Diagram Reference: 64
Ring, snap
Diagram Reference: 65
Screw, manual release
Diagram Reference: 66
Bolt,socket
Diagram Reference: 67
6EK4388014 (REFER TO FIG.26)
Motor assembly
Diagram Reference: 68