Genuine Yamaha Outboard Parts Diagrams | Flood Marine
New Search
Parts
New Outboards
Home
F300NSB (2025)
POWER TRIM & TILT ASSY 2
Diagram: POWER TRIM & TILT ASSY 2
Parts List
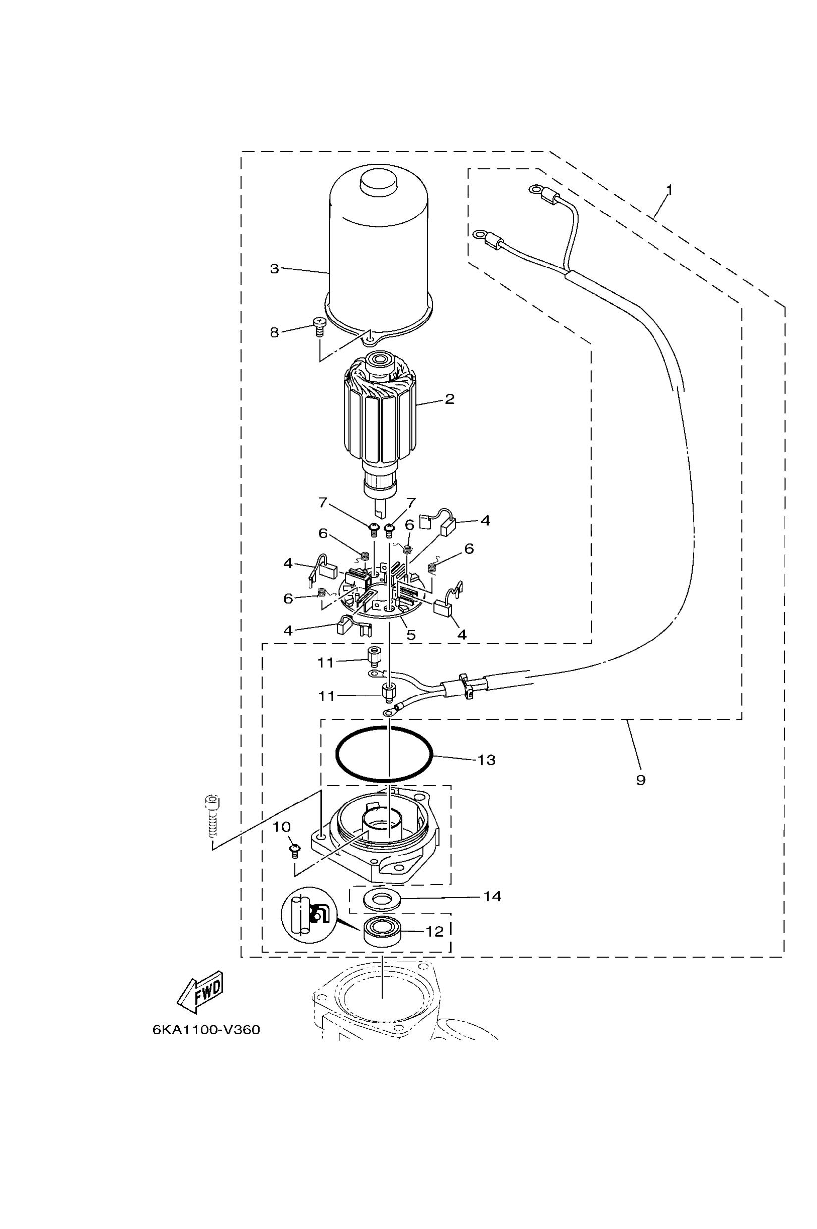
6KA43880098D
(UR GRAY)
Motor assembly
Diagram Reference: 1
Get Part
6KA4388009CE
(UR WHITE)
Motor assembly
Diagram Reference: 1
Get Part
6ML4380500
Armature assembly
Diagram Reference: 2
Get Part
6KA43804098D
(UR GRAY)
Stator assembly
Diagram Reference: 3
Get Part
6KA4380409CE
(UR WHITE)
Stator assembly
Diagram Reference: 3
Get Part
6KA4389200
Brush 2
Diagram Reference: 4
Get Part
6KA4380600
Brush holder assembly
Diagram Reference: 5
Get Part
6KA4386K00
Spring, brush
Diagram Reference: 6
Get Part
9760204306
Screw, pan head with washer
Diagram Reference: 7
Get Part
6KA4387900
Screw, with washer
Diagram Reference: 8
Get Part
6KA4388101
Frame, end
Diagram Reference: 9
Get Part
9760204308
Screw, pan head with washer
Diagram Reference: 10
Get Part
6KA4388F00
Spacer
Diagram Reference: 11
Get Part
6KA4388200
Oil seal
Diagram Reference: 12
Get Part
6KA4386200
O-ring
Diagram Reference: 13
Get Part
6KA4387G00
Washer
Diagram Reference: 14
Get Part