Yamaha Outboard Parts - Partie Electrique 2 - 175DETOL (1998) | Flood Marine
New Search
Parts
New Outboards
Home
175DETOL (1998)
Partie Electrique 2
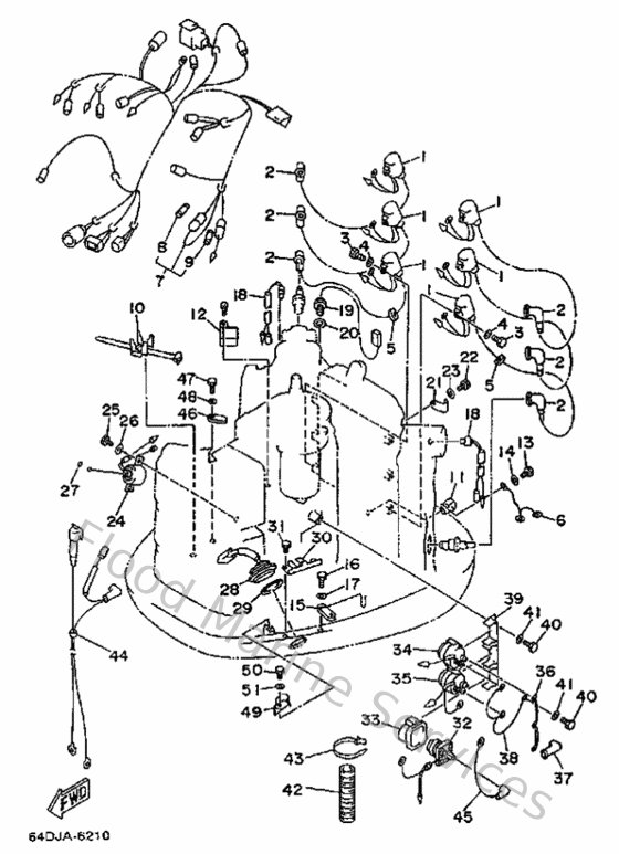
Diagram: Partie Electrique 2
Parts List
Reference
Description
Price
1
6R3855700100
Ignition coil assembly
Loading…
↗
2
6E3823702000
Plug cap assembly
Loading…
↗
3
970950602000
Bolt(7u8)
Loading…
↗
4
929900660000
Washer, plain (646)
Loading…
↗
5
904802516100
Grommet(656)
Loading…
↗
6
6E5825310000
Wire, lead
Loading…
↗
7
64D825900000
Wire harness assembly
Loading…
↗
8
682821510000
Fuse
Loading…
↗
9
705821510000
Fuse (30a)
Loading…
↗
10
688825940000
Clamp
Loading…
↗
11
9046508M3300
Clamp(6t4)
Loading…
↗
12
9046510M1400
Clamp
Loading…
↗
13
970950601200
Bolt(gh1)
Loading…
↗
15
6K7825880000
Plate
Loading…
↗
18
688825601000
Thermo switch assembly
Loading…
↗
19
61A857900000
Thermosensor assembly
Loading…
↗
20
929901060000
Washer, plate
Loading…
↗
21
904650802800
Clamp (1e6)
Loading…
↗
22
970800601200
Bolt(gh1)
Loading…
↗
24
64D861100000
Solenoid
Loading…
↗
25
970950601600
Bolt, hexagon deep recess
Loading…
↗
27
932100326100
O-ring (663)
Loading…
↗
28
6R3825630100
Trim & tilt switch assembly
Loading…
↗
29
6E5825870000
Gasket
Loading…
↗
30
6R3836140000
Bracket
Loading…
↗
32
61A819410000
Starter relay assembly
Loading…
↗
33
689819521000
Holder, starter relay
Loading…
↗
34
6E5819500100
Relay assembly
Loading…
↗
35
6E58195A0000
Relay assembly
Loading…
↗
36
6G5871491000
Connector
Loading…
↗
37
6G5821190000
Cover, lead wire
Loading…
↗
38
6E5821160000
Wire, minus lead
Loading…
↗
39
6G5819481100
Bracket
Loading…
↗
42
6E9835577000
Tube
Loading…
↗
43
9046513M3600
Clamp(6h4)
Loading…
↗
44
6R3821050200
Battery cable
Loading…
↗
45
6E5821170000
Wire, lead
Loading…
↗
46
6E5825880000
Plate
Loading…
↗
49
9046512M2500
Clamp (6e5)
Loading…
↗