Genuine Yamaha Outboard Parts Diagrams | Flood Marine
New Search
Parts
New Outboards
Home
F300DET (2025)
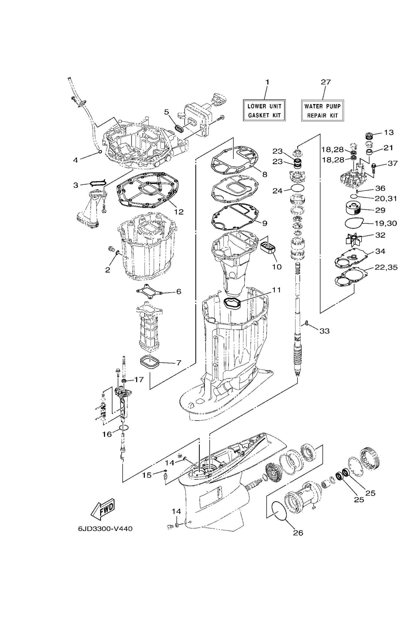
REPAIR KIT 2
Diagram: REPAIR KIT 2
Parts List
6JDW000121
Lower unit gasket kit
Diagram Reference: 1
Get Part
9043014M09
Gasket
Diagram Reference: 2
Get Part
6AW1341500
Seal, oil strainer
Diagram Reference: 3
Get Part
9321019MJ3
O-ring
Diagram Reference: 4
Get Part
6CB1475501
Gasket, silencer
Diagram Reference: 5
Get Part
6CB4113400
Gasket, exhaust manifold
Diagram Reference: 6
Get Part
6CB4113800
Seal, ext. 1
Diagram Reference: 7
Get Part
6CB4113500
Gasket, exhaust manifold
Diagram Reference: 8
Get Part
6CE4113600
Gasket, exhaust manifold 4
Diagram Reference: 9
Get Part
6CE4512700
Seal
Diagram Reference: 10
Get Part
6CE4512300
Gasket, muffler
Diagram Reference: 11
Get Part
6CB4511310
Gasket, upper casing
Diagram Reference: 12
Get Part
6AW4436601
Damper, water seal 2
Diagram Reference: 13
Get Part
9043008003
Gasket
Diagram Reference: 14
Get Part
9321007003
O-ring (11m)
Diagram Reference: 15
Get Part
9321058144
O-ring(47x)
Diagram Reference: 16
Get Part
9310112M70
Oil seal
Diagram Reference: 17
Get Part
9310422M07
Oil seal(61a)
Diagram Reference: 18
Get Part
9321094003
O-ring
Diagram Reference: 19
Get Part
9321037160
O-ring (6g8)
Diagram Reference: 20
Get Part
6AW4436501
Damper, water seal 1
Diagram Reference: 21
Get Part
6JD4431500
Gasket, water pump
Diagram Reference: 22
Get Part
9310128019
Oil seal
Diagram Reference: 23
Get Part
9321069MG6
O-ring
Diagram Reference: 24
Get Part
9310135019
Oil seal
Diagram Reference: 25
Get Part
9321110232
O-ring (278)
Diagram Reference: 26
Get Part
6JDW007800
Water pump repair kit
Diagram Reference: 27
Get Part
6JD4432200
Insert, cartridge
Diagram Reference: 29
Get Part
6CE4435200
Impeller
Diagram Reference: 32
Get Part
9028004002
Key, woodruff
Diagram Reference: 33
Get Part
6JD4432300
Outer plate, cartridge
Diagram Reference: 34
Get Part
9360612019
Pin, dowel (614)
Diagram Reference: 36
Get Part
9011908191
Bolt, with washer
Diagram Reference: 37
Get Part