Genuine Yamaha Outboard Parts Diagrams | Flood Marine
New Search
Parts
New Outboards
Home
VF150XB (2025)
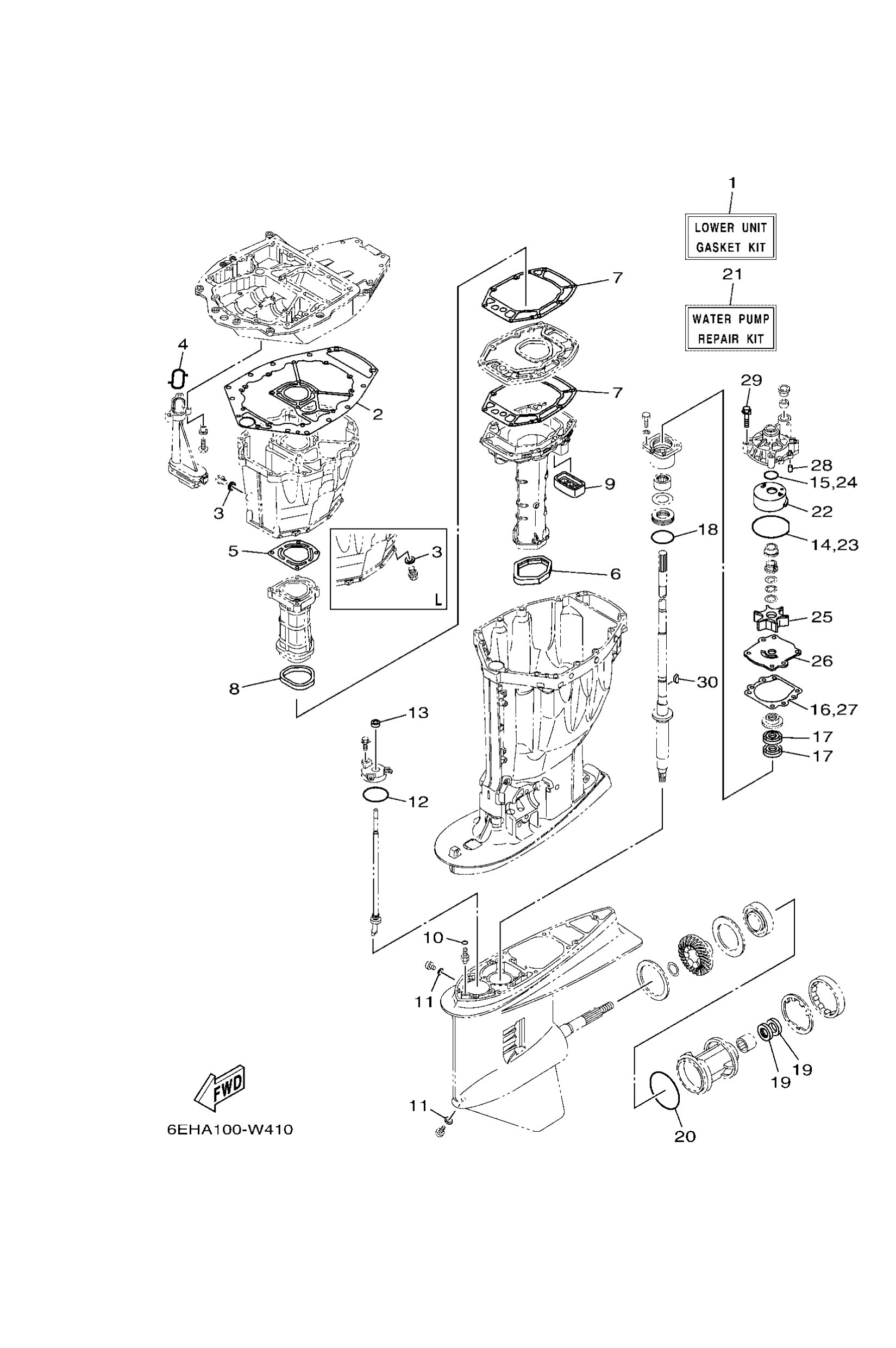
REPAIR KIT 2
Diagram: REPAIR KIT 2
Parts List
63PW000122
Lower unit gasket kit
Diagram Reference: 1
Get Part
63P1531202
Gasket, oil pan
Diagram Reference: 2
Get Part
9043014M09
Gasket
Diagram Reference: 3
Get Part
63P1341500
Seal, oil strainer
Diagram Reference: 4
Get Part
63P41133A0
Gasket, exhaust manifold 1
Diagram Reference: 5
Get Part
69J4512300
Gasket, muffler
Diagram Reference: 6
Get Part
63P41134A1
Gasket, exhaust manifold
Diagram Reference: 7
Get Part
63P4113800
Seal, ext. 1
Diagram Reference: 8
Get Part
69J4512701
Seal
Diagram Reference: 9
Get Part
9321007003
O-ring (11m)
Diagram Reference: 10
Get Part
9043008003
Gasket
Diagram Reference: 11
Get Part
9321058144
O-ring(47x)
Diagram Reference: 12
Get Part
9310609014
Oil seal
Diagram Reference: 13
Get Part
9321086M38
O-ring (6e5)
Diagram Reference: 14
Get Part
9321037160
O-ring (6g8)
Diagram Reference: 15
Get Part
6E544315A0
Gasket,water pump
Diagram Reference: 16
Get Part
9310128M16
Oil seal (6e5)
Diagram Reference: 17
Get Part
9321055M14
O-ring (70e)
Diagram Reference: 18
Get Part
9310130M17
Oil seal (6e5)
Diagram Reference: 19
Get Part
9321097M55
O-ring (6g5)
Diagram Reference: 20
Get Part
61AW0078A4
Water pump repair kit
Diagram Reference: 21
Get Part
61A4432202
Insert, cartridge
Diagram Reference: 22
Get Part
6E54435201
Impeller
Diagram Reference: 25
Get Part
6G54432301
Outer plate, cartridge
Diagram Reference: 26
Get Part
9360612019
Pin, dowel (614)
Diagram Reference: 28
Get Part
9011908191
Bolt, with washer
Diagram Reference: 29
Get Part
9028004M05
Key, woodruff (6e5)
Diagram Reference: 30
Get Part