Yamaha Outboard Parts - Repair Kit 2 - E8DMH (1999) | Flood Marine

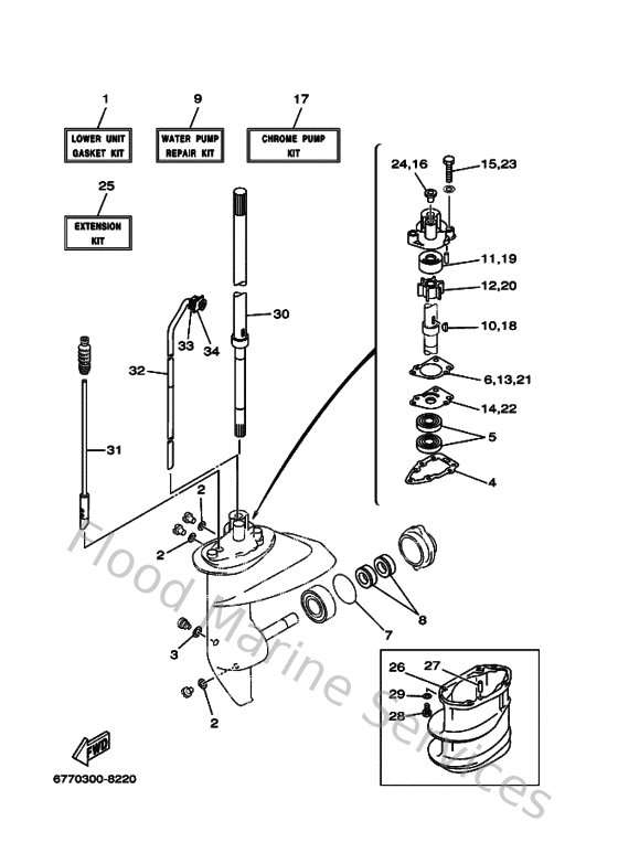
Diagram: Repair Kit 2

Diagram