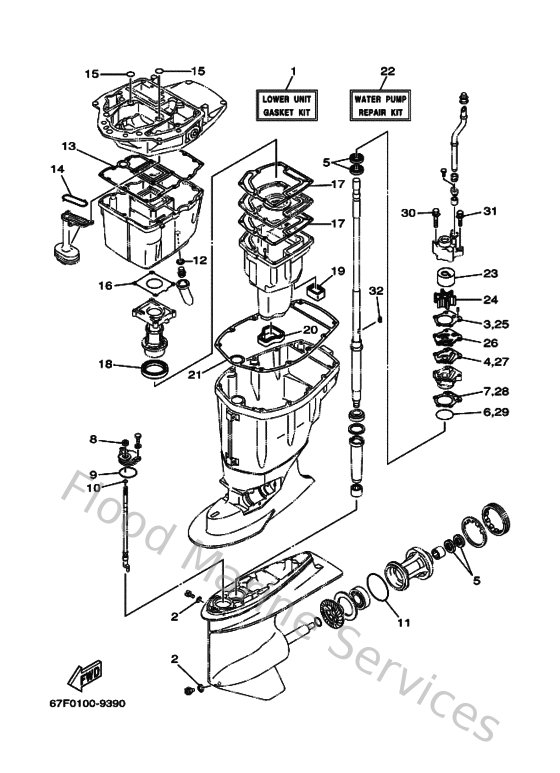
Yamaha Outboard Parts - Repair Kit 3 - F100AET (2001) | Flood Marine

Diagram: Repair Kit 3

Diagram