Genuine Yamaha Outboard Parts Diagrams | Flood Marine
New Search
Parts
New Outboards
Home
F200BET FOR CARIB (2025)
STARTING MOTOR
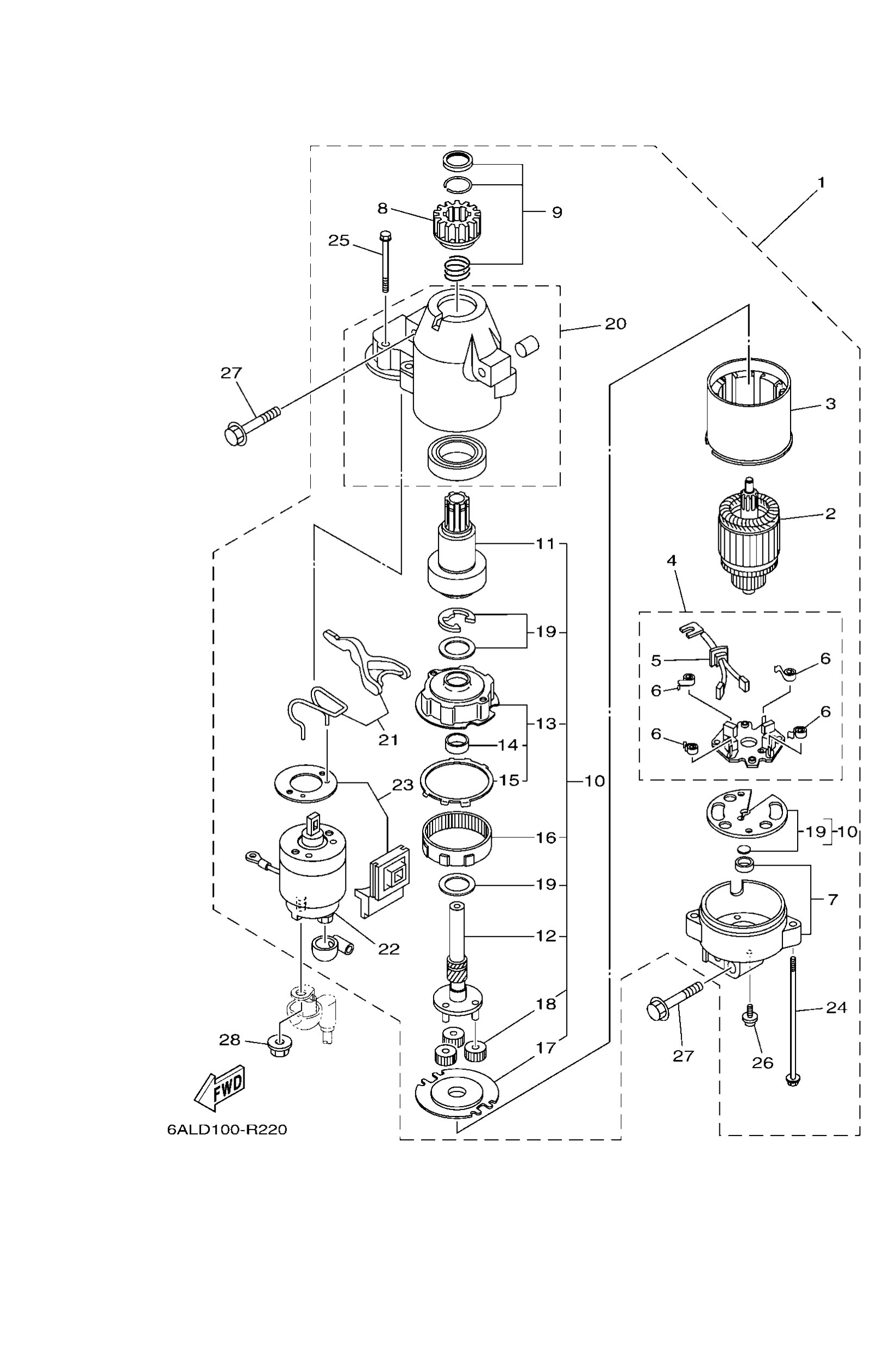
Diagram: STARTING MOTOR
Parts List
6BR8180002
Starting motor assembly
Diagram Reference: 1
Get Part
67F8185000
Armature assembly
Diagram Reference: 2
Get Part
67F8181000
Stator assembly
Diagram Reference: 3
Get Part
69J8184011
Brush holder assembly
Diagram Reference: 4
Get Part
69J8180111
Brush set
Diagram Reference: 5
Get Part
67F8181300
Spring, brush
Diagram Reference: 6
Get Part
67F8182000
Rear bracket assembly
Diagram Reference: 7
Get Part
67F8180800
Pinion assembly
Diagram Reference: 8
Get Part
67F8185700
Pinion stopper set
Diagram Reference: 9
Get Part
67F8180700
Gear assembly, starting motor
Diagram Reference: 10
Get Part
67F8183200
Clutch, over run
Diagram Reference: 11
Get Part
67F8183600
Shaft, pinion
Diagram Reference: 12
Get Part
67F8182100
Bracket, center 1
Diagram Reference: 13
Get Part
67F8184100
Bearing
Diagram Reference: 14
Get Part
67F8183R00
Gasket
Diagram Reference: 15
Get Part
67F8189100
(WITH 67F-8183R-00)
Gear, ring
Diagram Reference: 16
Get Part
67F8183000
Bracket, center 2
Diagram Reference: 17
Get Part
60V8183T00
Gear, idler
Diagram Reference: 18
Get Part
67F8180900
Washer kit
Diagram Reference: 19
Get Part
69J8184200
Cover
Diagram Reference: 20
Get Part
6C58183900
Lever assembly
Diagram Reference: 21
Get Part
63P8194100
Starter relay assembly
Diagram Reference: 22
Get Part
6C58186900
Cover, dust
Diagram Reference: 23
Get Part
6K78182611
Bolt
Diagram Reference: 24
Get Part
69J8182800
Bolt 2
Diagram Reference: 25
Get Part
67F8184600
Screw
Diagram Reference: 26
Get Part
9751308545
Bolt, with washer
Diagram Reference: 27
Get Part
9017908003
Nut
Diagram Reference: 28
Get Part