Yamaha Outboard Parts - Starter - 25NMHO (2001) | Flood Marine
New Search
Parts
New Outboards
Home
25NMHO (2001)
Starter
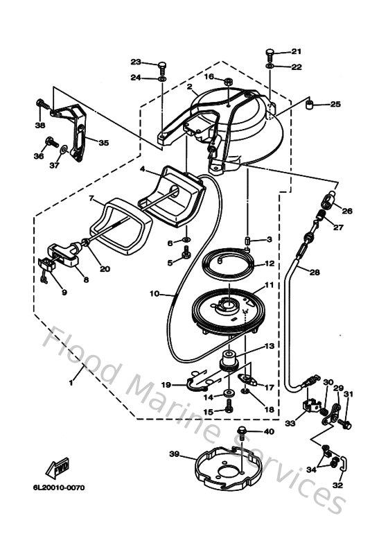
Diagram: Starter
Parts List
Reference
Description
Price
1
6L2157100200
Starter assembly
Loading…
↗
2
6L2157110094
Case, starter
Loading…
↗
3
916904001400
Pin, spring (6f2)
Loading…
↗
4
6L2157580194
Guide, rope
Loading…
↗
5
970950601600
Bolt, hexagon deep recess
Loading…
↗
6
929900660000
Washer, plain (646)
Loading…
↗
7
6L2157620000
Seal, rubber 2
Loading…
↗
8
689157550100
Handle, starter
Loading…
↗
9
6F5157790200
Cover
Loading…
↗
10
9058050M0400
Wire (l:1,950mm)
Loading…
↗
11
6J8157140000
Drum, sheave
Loading…
↗
12
9051008M0400
Spring, spiral (677)
Loading…
↗
13
677157170100
Shaft
Loading…
↗
14
902010606000
Washer, plate
Loading…
↗
15
970130602500
Bolt(62y)
Loading…
↗
16
953800670000
Nut
Loading…
↗
17
676157410300
Pawl, drive
Loading…
↗
18
9343006M0200
Circlip (689)
Loading…
↗
19
6J8157050000
Spring, drive pawl
Loading…
↗
20
6A0157890000
Damper
Loading…
↗
21
970800603500
Bolt(j52)
Loading…
↗
22
929950660000
Washer, plain (646)
Loading…
↗
23
970950602500
Bolt
Loading…
↗
25
995101011400
Pin, dowel(3vd)
Loading…
↗
26
656157480000
Plunger, starter stop
Loading…
↗
27
905011022700
Spring, comprreshion(656)
Loading…
↗
28
6L2157700000
Cable comp., starter stop
Loading…
↗
29
6L2157460000
Arm
Loading…
↗
30
9038706M5100
Collar (6g0)
Loading…
↗
31
9011906M5300
Bolt, with washer(6l2)
Loading…
↗
32
6L2157470000
Link
Loading…
↗
33
6L2157740000
Stay 4
Loading…
↗
34
661412620200
Joint, choke lever
Loading…
↗
35
6L2157720094
Stay 2
Loading…
↗
36
970130602000
Bolt(62y)
Loading…
↗
38
970950602000
Bolt(7u8)
Loading…
↗
39
6L2157230100
Pulley, starter
Loading…
↗
40
9010508M1000
Bolt (6a0)
Loading…
↗