Yamaha Outboard Parts - Starting Motor - 175BETOL (1990) | Flood Marine
New Search
Parts
New Outboards
Home
175BETOL (1990)
Starting Motor
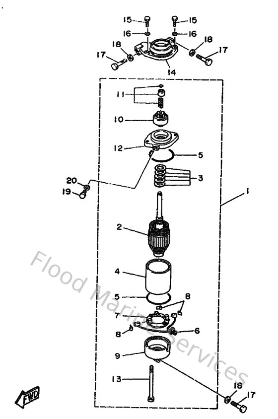
Diagram: Starting Motor
Parts List
Reference
Description
Price
1
6E5818001100
Starting motor assembly
Loading…
↗
2
6E5818501000
Armature assembly
Loading…
↗
3
6E5818091000
Washer Kit
Loading…
↗
4
6E5818101000
Stator assembly
Loading…
↗
5
6E5818471000
O-ring
Loading…
↗
6
6E5818011000
Brush ass'y
Loading…
↗
7
6E5818401000
Brush holder ass'y
Loading…
↗
8
6E5818131000
Spring Brush
Loading…
↗
9
6E5818201000
Rear Bracket assembly
Loading…
↗
10
6E5818071100
Pinion assembly
Loading…
↗
11
6E5818571000
Retainer
Loading…
↗
12
6E5818301000
Front Bracket assembly
Loading…
↗
13
6E5818261000
Bolt
Loading…
↗
14
6R3818220094
Bracket, starting motor
Loading…
↗
15
970130602500
Bolt(62y)
Loading…
↗
16
929900860000
Washer, plain (663)
Loading…
↗
17
970130804500
Bolt
Loading…
↗
18
929900660000
Washer, plain (646)
Loading…
↗
19
973950801600
Bolt
Loading…
↗