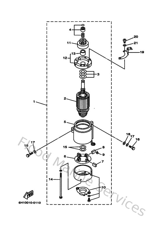
Yamaha Outboard Parts - Starting Motor - 80AETOL (2001) | Flood Marine

Diagram: Starting Motor

Diagram