Yamaha Outboard Parts - Starting Motor - FT25BE (2001) | Flood Marine
New Search
Parts
New Outboards
Home
FT25BE (2001)
Starting Motor
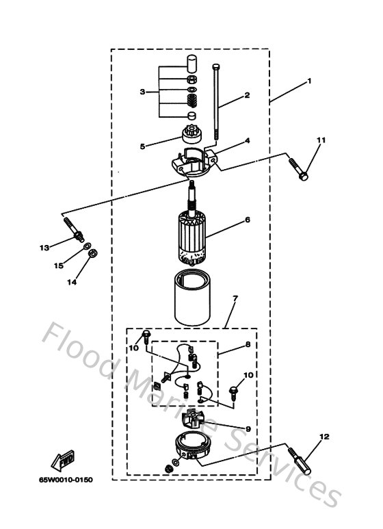
Diagram: Starting Motor
Parts List
Reference
Description
Price
1
65W818000100
Starting motor assy
Loading…
↗
2
65W818260000
Bolt
Loading…
↗
3
65W818570100
Retainer
Loading…
↗
4
65W818300000
Front Bracket Assy
Loading…
↗
5
65W818070000
Gear assy, starting motor
Loading…
↗
6
65W818500100
Armature Assy
Loading…
↗
7
65W818200000
Rear bracket assy
Loading…
↗
8
65W818010000
Brush set
Loading…
↗
9
65W818400000
Brush holder assy
Loading…
↗
10
65W8182S0000
Screw
Loading…
↗
11
9011908M3900
Bolt, with washer
Loading…
↗
12
9010908M7700
Bolt
Loading…
↗
13
9010908M7800
Bolt
Loading…
↗
14
953800870000
Nut(661)
Loading…
↗
15
929900860000
Washer, plain (663)
Loading…
↗