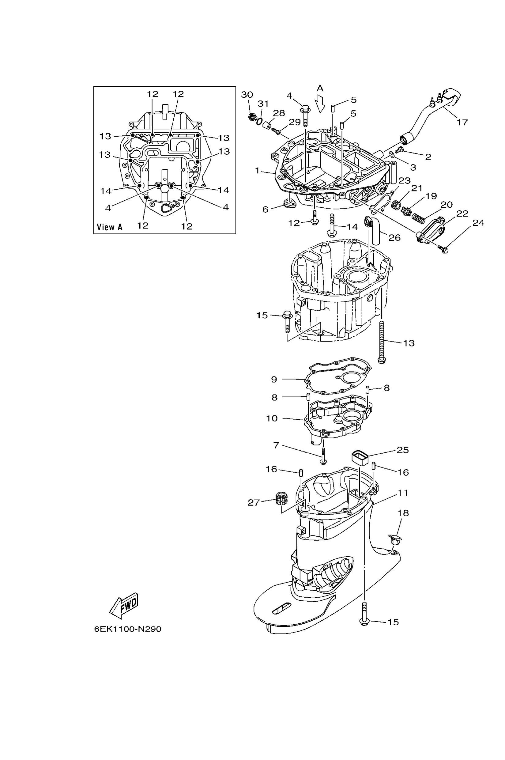
Parts List
Guide, exhaust
Diagram Reference: 1
Bolt, hexagon deep recess
Diagram Reference: 2
Gasket (256-11198-00)
Diagram Reference: 3
Bolt, hexagon w/w deep recess
Diagram Reference: 4
Pin, dowel b (6e5)
Diagram Reference: 5
Grommet
Diagram Reference: 6
Bolt, flange deep recess
Diagram Reference: 7
Pin, dowel (614)
Diagram Reference: 8
Gasket, exhaust manifold
Diagram Reference: 9
Plate
Diagram Reference: 10
Casing, upper
Diagram Reference: 11
Casing, upper
Diagram Reference: 11
Bolt, hexagon w/w deep recess
Diagram Reference: 12
Bolt, with washer
Diagram Reference: 13
Seal, rubber
Diagram Reference: 17
Cap
Diagram Reference: 18
Valve, pressure control
Diagram Reference: 19
Spring, compression
Diagram Reference: 20
Grommet (688)
Diagram Reference: 21
Cover 1
Diagram Reference: 22
Gasket
Diagram Reference: 23
Bolt, flange deep recess
Diagram Reference: 24
Seal
Diagram Reference: 25
Pipe
Diagram Reference: 26
Bushing, drive shaft
Diagram Reference: 27
Anode
Diagram Reference: 28
Screw, panhead (a93)
Diagram Reference: 29
Plug, blind
Diagram Reference: 30
O-ring (6g8)
Diagram Reference: 31