Genuine Yamaha Outboard Parts Diagrams | Flood Marine

Diagram: UPPER CASING

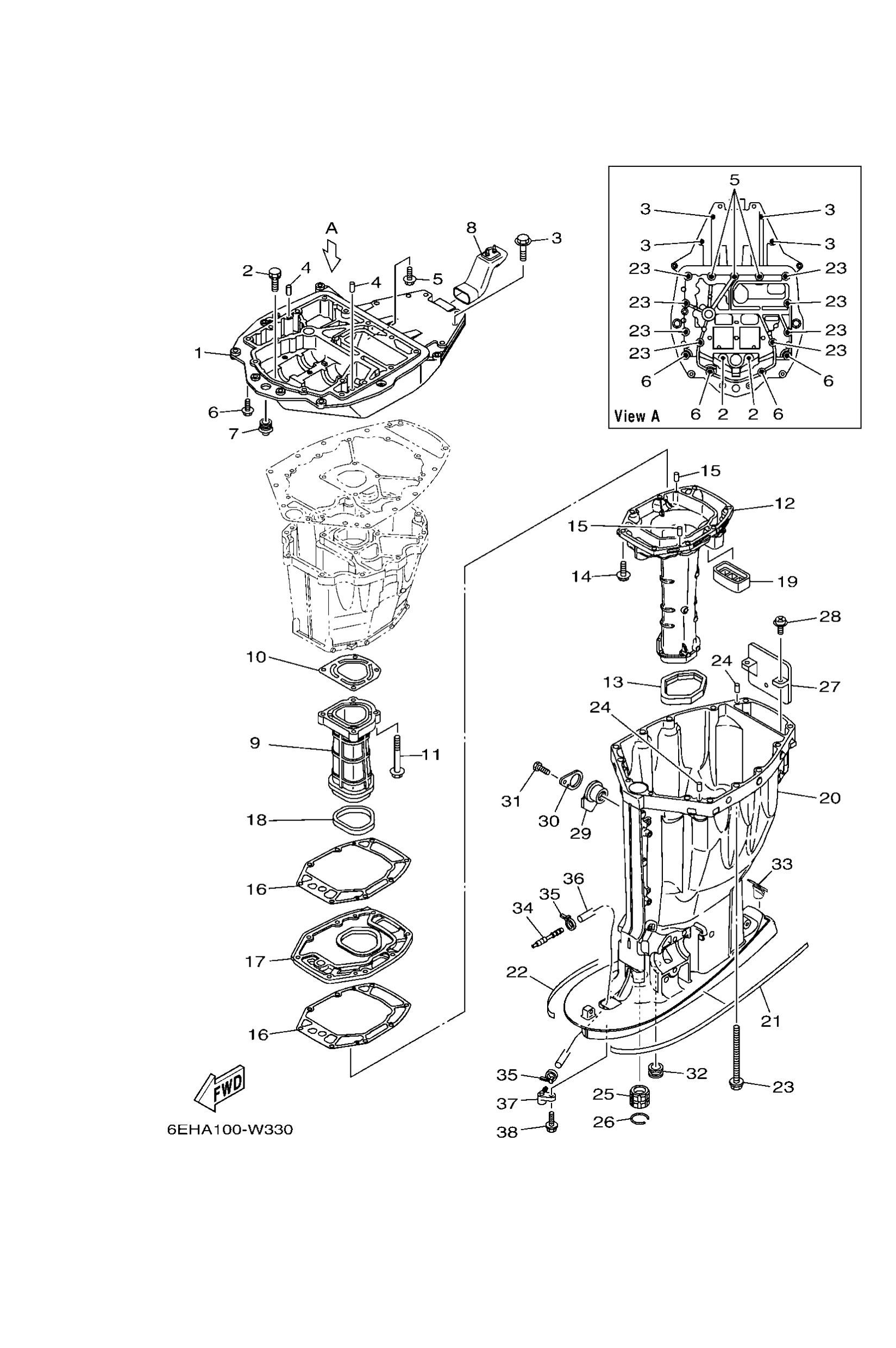
Diagram

Parts List

Guide, exhaust
Diagram Reference: 1
Bolt, with washer
Diagram Reference: 2
Bolt, hexagon w/w deep recess
Diagram Reference: 3
Pin, dowel(6t4)
Diagram Reference: 4
Bolt, with washer
Diagram Reference: 5
Bolt, hexagon w/w deep recess
Diagram Reference: 6
Grommet
Diagram Reference: 7
Seal, rubber
Diagram Reference: 8
Manifold, ext. 1
Diagram Reference: 9
Gasket, exhaust manifold 1
Diagram Reference: 10
Bolt, hexagon w/w deep recess
Diagram Reference: 11
6DA1471101 (X(25.3"))
Muffler 1
Diagram Reference: 12
6DA1471111 (L(20.3"))
Muffler 1
Diagram Reference: 12
Gasket, muffler
Diagram Reference: 13
Bolt, hexagon w/w deep recess
Diagram Reference: 14
Pin, dowel
Diagram Reference: 15
Gasket, exhaust manifold
Diagram Reference: 16
Plate
Diagram Reference: 17
Seal, ext. 1
Diagram Reference: 18
Seal
Diagram Reference: 19
6DA45111108D (L(20.3"))
Casing, upper
Diagram Reference: 20
6DA45111018D (X(25.3"))
Casing, upper
Diagram Reference: 20
Mark 1
Diagram Reference: 21
Mark 2
Diagram Reference: 22
Bolt, with washer
Diagram Reference: 23
Bushing, drive shaft 3
Diagram Reference: 25
Circlip (6a0)
Diagram Reference: 26
Cover, exhaust
Diagram Reference: 27
Screw, with washer(6h2)
Diagram Reference: 28
6BB1531601 (X(25.3"))
Damper 1
Diagram Reference: 29
6BB4515201 (X(25.3"))
Cover, upper casing 2
Diagram Reference: 30
97D9506012 (X(25.3"))
Bolt, hexagon deep recess
Diagram Reference: 31
Damper, water seal 2
Diagram Reference: 32
6DA4515501 (X(25.3"))
Cap
Diagram Reference: 33
6C54515502 (L(20.3"))
Cap
Diagram Reference: 33
End, nipple
Diagram Reference: 34
Clamp
Diagram Reference: 35
9044507018 (X(25.3"))
Hose (l1457)
Diagram Reference: 36
9044507010 (L(20.3"))
Hose (l1457)
Diagram Reference: 36
Nipple, hose
Diagram Reference: 37
Bolt, with washer
Diagram Reference: 38