Yamaha Outboard Parts - Upper Casing - 90AETOL (1988) | Flood Marine

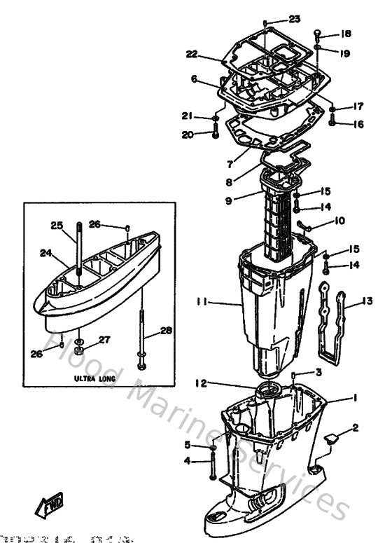
Diagram: Upper Casing

Diagram