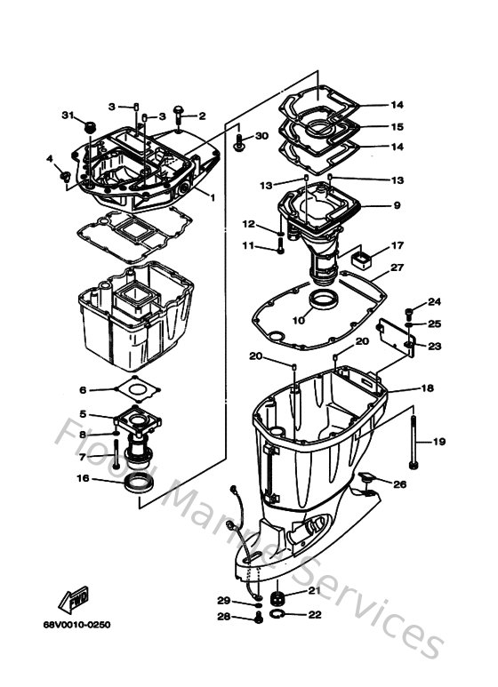
Yamaha Outboard Parts - Upper Casing - F115AET (2000) | Flood Marine

Diagram: Upper Casing

Diagram