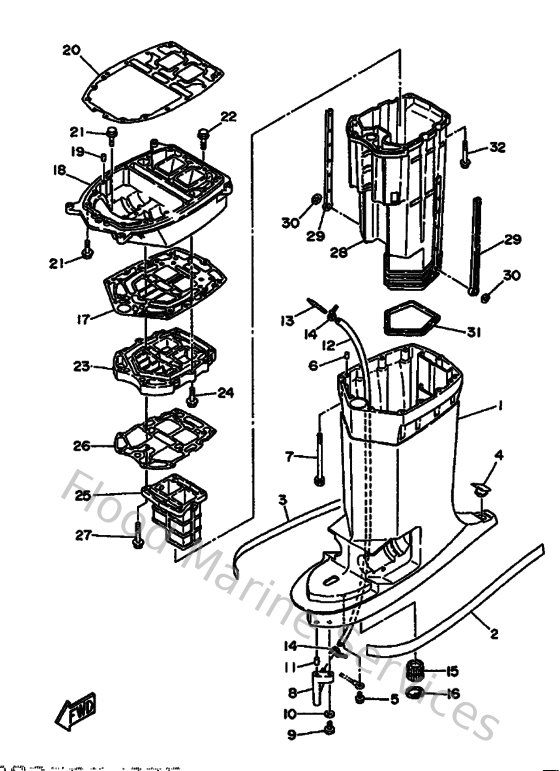
Yamaha Outboard Parts - Upper Casing - L225CETO (1994) | Flood Marine

Diagram: Upper Casing

Diagram