Genuine Yamaha Outboard Parts Diagrams | Flood Marine
New Search
Parts
New Outboards
Home
XF450NSA (2025)
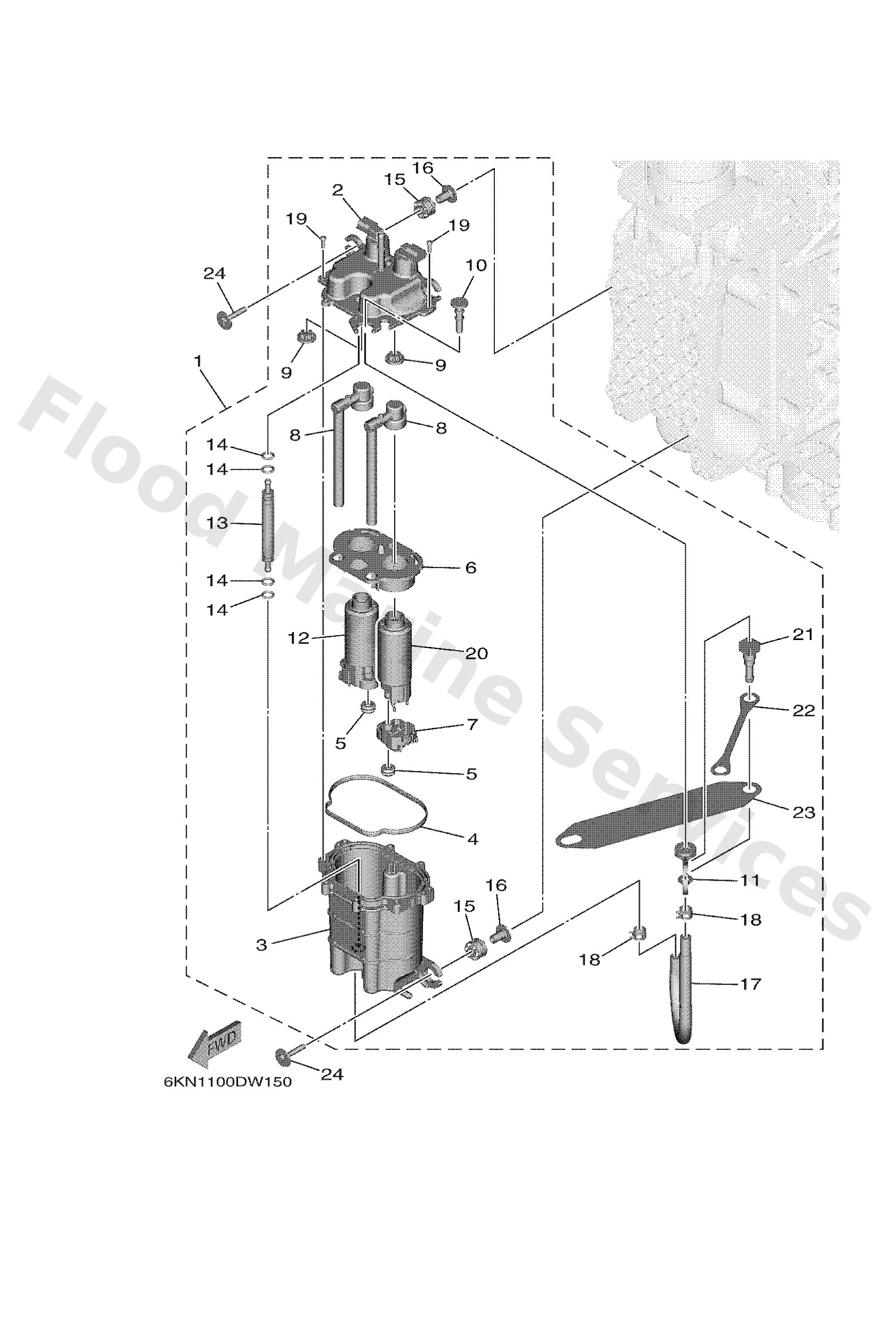
VAPOR SEPARATOR
Diagram: VAPOR SEPARATOR
Parts List
6GR2422003
Fuel tank comp. 2
Diagram Reference: 1
Get Part
6GR2422300
Cover, fuel tank assembly
Diagram Reference: 2
Get Part
6GR2422401
Case, fuel tank assembly.
Diagram Reference: 3
Get Part
6GR2421800
Gasket
Diagram Reference: 4
Get Part
6GR1378100
Damper, pump
Diagram Reference: 5
Get Part
6GR2441R00
Plate, baffle 1
Diagram Reference: 6
Get Part
6GR244A100
Case, pump 1
Diagram Reference: 7
Get Part
6GR1393800
Pipe
Diagram Reference: 8
Get Part
6GR1359300
Damper
Diagram Reference: 9
Get Part
6GR2419600
Plug, drain
Diagram Reference: 10
Get Part
6GR2419A00
Holder
Diagram Reference: 11
Get Part
6GR2443000
Fuel pump assembly
Diagram Reference: 12
Get Part
6GR2184100
Cooler
Diagram Reference: 13
Get Part
6FM1456200
O-ring
Diagram Reference: 14
Get Part
6CB1359300
Damper
Diagram Reference: 15
Get Part
6GR1371600
Collar
Diagram Reference: 16
Get Part
6GR1419700
Pipe
Diagram Reference: 17
Get Part
68V1357701
Clip
Diagram Reference: 18
Get Part
6GR1456700
Screw
Diagram Reference: 19
Get Part
6GR2442010
Fuel pump assembly
Diagram Reference: 20
Get Part
6AW2430011
Fuel pipe joint
Diagram Reference: 21
Get Part
6GR2411300
Plate, connecting
Diagram Reference: 22
Get Part
6GR2415H00
Label, warning
Diagram Reference: 23
Get Part
9011906299
Bolt, with washer
Diagram Reference: 24
Get Part