Yamaha Outboard Parts - Vapor Separator 1 - LZ150Q (2001) | Flood Marine

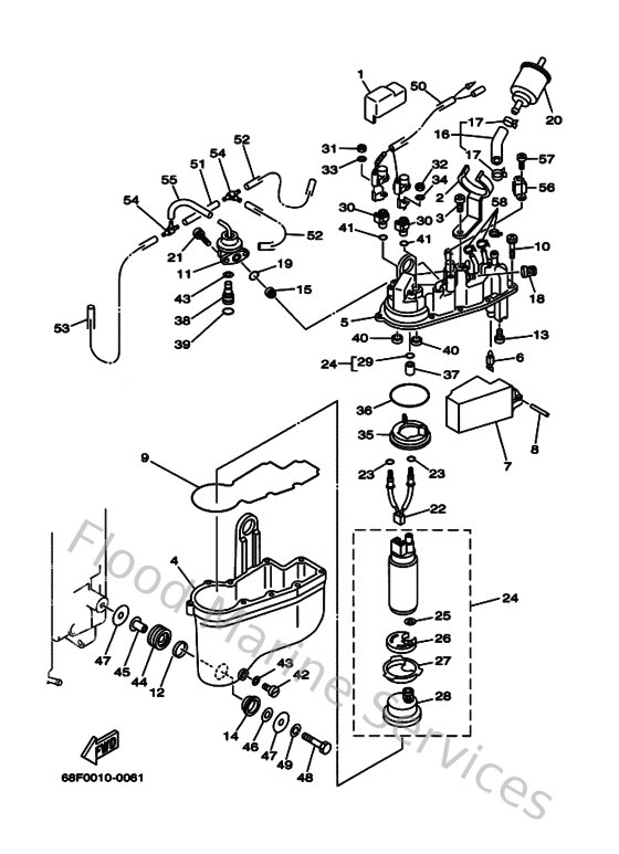
Diagram: Vapor Separator 1

Diagram

Parts List

Reference
Description
Price